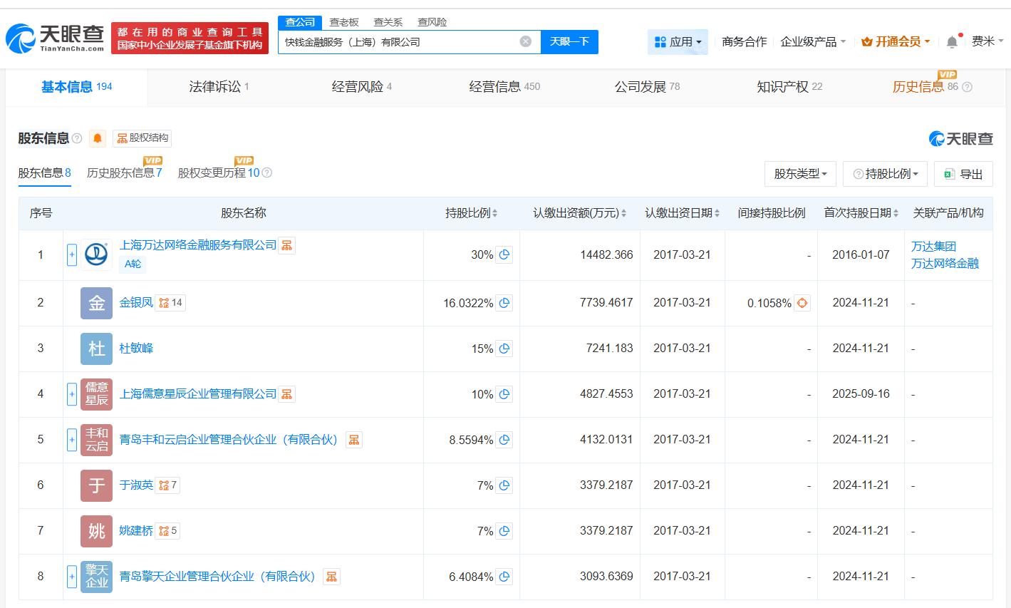
天眼查App显示,近日,快钱金融服务(上海)有限公司发生工商变更,原股东青岛鸿元正拓企业管理合伙企业(有限合伙)退出,新增上海儒意星辰企业管理有限公司为股东。
快钱金融服务(上海)有限公司成立于2011年9月,法定代表人为张翼,注册资本约4.8亿人民币,经营范围包括金融信息服务、投资管理、投资咨询等。股东信息显示,该公司现由上海万达网络金融服务有限公司、金银凤及上述新增股东等共同持股。
据媒体报道,今年7月,中国儒意(00136.HK)公告称,其间接全资附属公司上海儒意星辰企业管理有限公司、上海万达网络金融服务有限公司及快钱金融服务(上海)有限公司订立股权转让协议。据此,中国儒意拟以2.4亿元收购快钱金融30%的股权。























