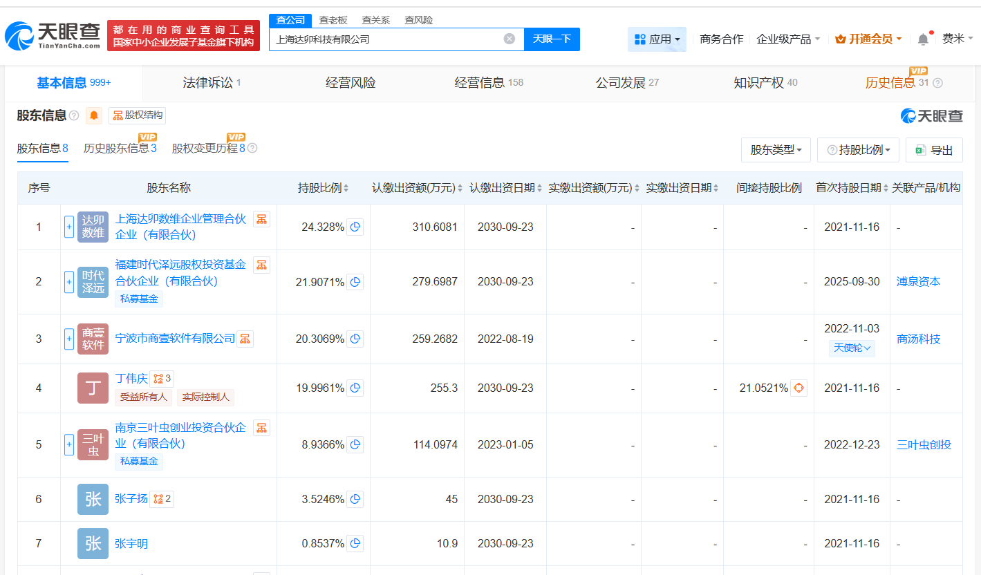
天眼查App显示,近日,上海达卯科技有限公司发生工商变更,新增宁德时代参投的福建时代泽远股权投资基金合伙企业(有限合伙)、深圳市绿水长青创业投资合伙企业(有限合伙)为股东,刘涛卸任法定代表人,由简煜忞接任,注册资本由约1209万人民币增至约1277万人民币,同时多位高管发生变更。
该公司成立于2021年3月,经营范围包括计算机软硬件及辅助设备批发、数据处理服务、物联网技术服务等,现由上海达卯数维企业管理合伙企业(有限合伙)、宁波市商壹软件有限公司及上述新增股东等共同持股。公开资料显示,该公司致力于利用通用人工智能(AGI)技术构建能源大模型(Energy MaaS)平台和AI虚拟电厂应用,提供技术咨询、运维服务及能效管理软件。
























