据媒体报道,记者从接近娃哈哈的人士了解到,宗馥莉已于9月12日向娃哈哈集团有限公司辞去公司法人代表、董事及董事长等相关职务并已通过集团股东会和董事会的相关程序。一名消息人士表示,宗馥莉此次辞职,是因为商标使用“不合规”,宗馥莉决定经营自己的品牌“娃小宗”。
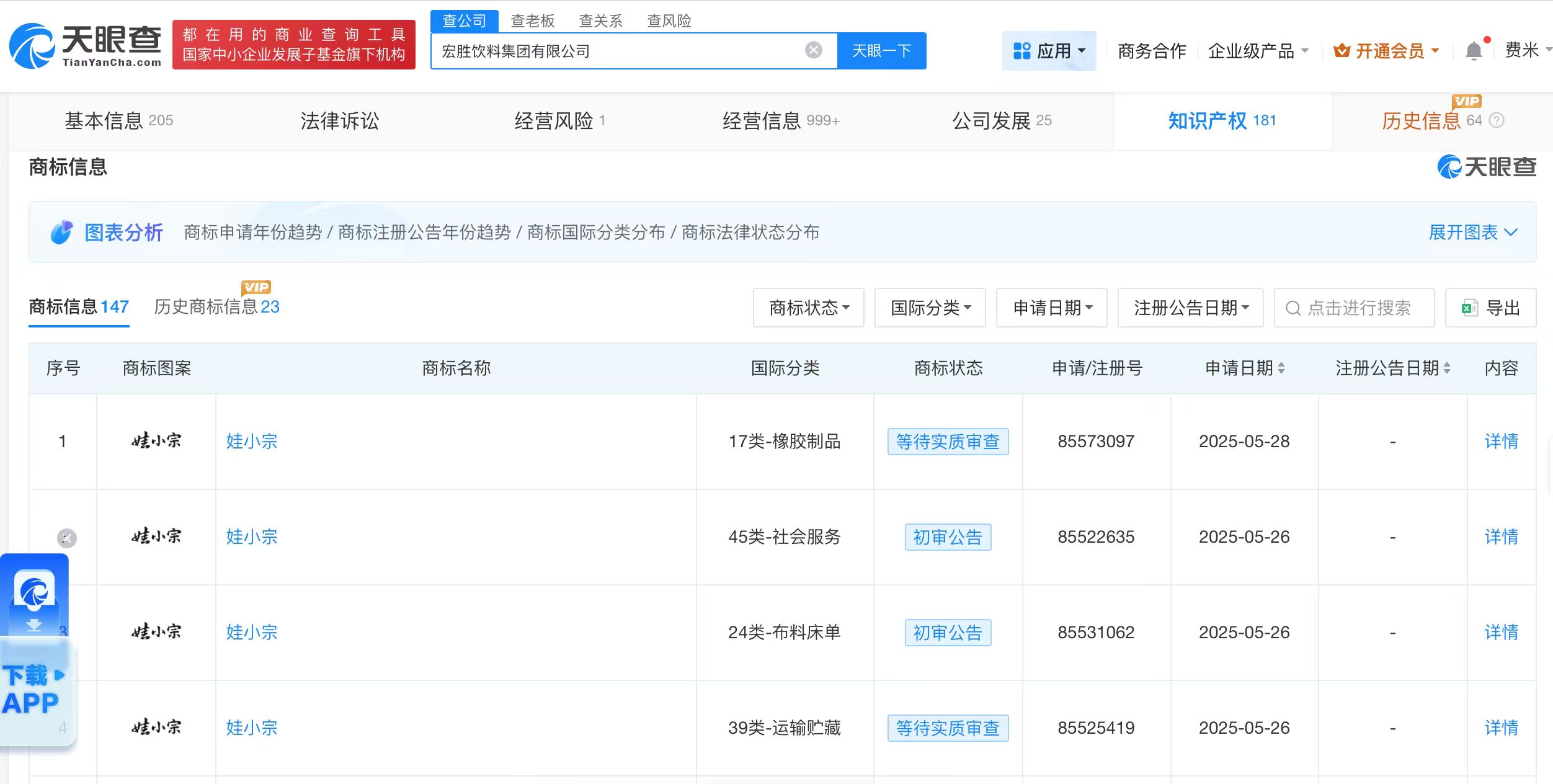
天眼查知识产权信息显示,今年以来,宏胜饮料集团有限公司已申请注册多枚“娃小宗”“宗小哈”“娃小哈”商标,国际分类涉及食品、啤酒饮料、广告销售等。其中,多枚“娃小宗”“宗小哈”商标状态为初审公告。宏胜饮料集团有限公司成立于2003年10月,法定代表人为祝丽丹,注册资本1025万美元,经营范围包括食品销售、食品添加剂销售、塑料制品销售等,由恒枫贸易有限公司全资持股,宗馥莉在该公司担任董事。
值得注意的是,河南某健康产业公司、新吴某电子商务公司、九江某科技公司等均已申请注册“娃小宗”商标,当前商标状态为等待实质审查。





























