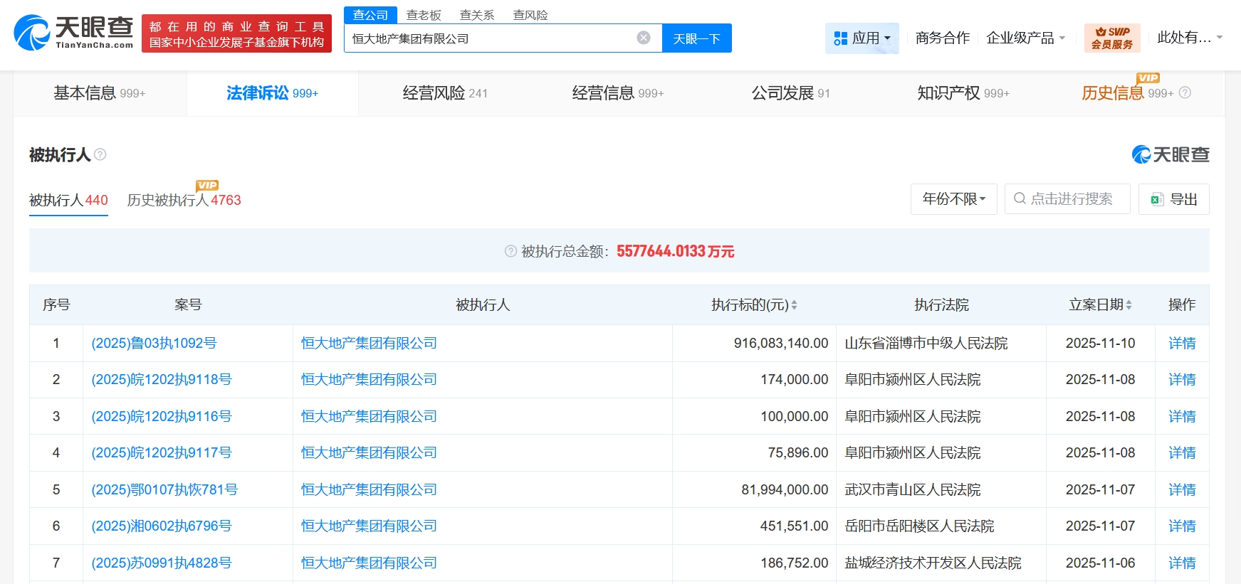
天眼查App显示,近日,恒大地产集团有限公司、威海中恒置业有限公司新增一则被执行人信息,执行标的9.1亿余元,执行法院为山东省淄博市中级人民法院。
恒大地产集团有限公司成立于1996年6月,法定代表人为赵长龙,注册资本约39.4亿人民币。股东信息显示,该公司由广州市凯隆置业有限公司、深圳市安居集团有限公司、广州市城投投资有限公司等共同持股。天眼风险信息显示,该公司现存400余条被执行人信息,被执行总金额超557亿元。此外,该公司还存在多条限制消费令、失信被执行人(老赖)及终本案件信息。



天眼查App显示,近日,恒大地产集团有限公司、威海中恒置业有限公司新增一则被执行人信息,执行标的9.1亿余元,执行法院为山东省淄博市中级人民法院。
恒大地产集团有限公司成立于1996年6月,法定代表人为赵长龙,注册资本约39.4亿人民币。股东信息显示,该公司由广州市凯隆置业有限公司、深圳市安居集团有限公司、广州市城投投资有限公司等共同持股。天眼风险信息显示,该公司现存400余条被执行人信息,被执行总金额超557亿元。此外,该公司还存在多条限制消费令、失信被执行人(老赖)及终本案件信息。


