天眼查工商信息显示,近日,许昌市胖东来商贸集团有限公司发生工商变更,于东来增任董事,同时多位高管发生变更。
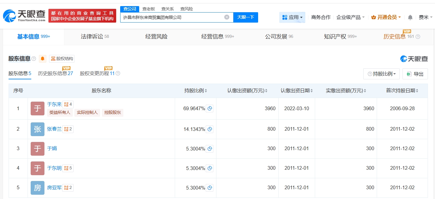
许昌市胖东来商贸集团有限公司成立于1997年9月,法定代表人为于东来,注册资本5660万人民币,经营范围包括服装洗涤、鞋类修理、房地产开发销售等。股东信息显示,该公司由于东来、张春兰、于东明等共同持股。



天眼查工商信息显示,近日,许昌市胖东来商贸集团有限公司发生工商变更,于东来增任董事,同时多位高管发生变更。
许昌市胖东来商贸集团有限公司成立于1997年9月,法定代表人为于东来,注册资本5660万人民币,经营范围包括服装洗涤、鞋类修理、房地产开发销售等。股东信息显示,该公司由于东来、张春兰、于东明等共同持股。


