天眼查经营风险信息显示,近日,北京二锅头酒业股份有限公司因违反食品安全法相关规定,被北京经济技术开发区管理委员会罚款10万元。处罚事由显示,该公司存在食品标签未标注“固态法白酒”、未标注警示语、不符合执行标准要求等情形。
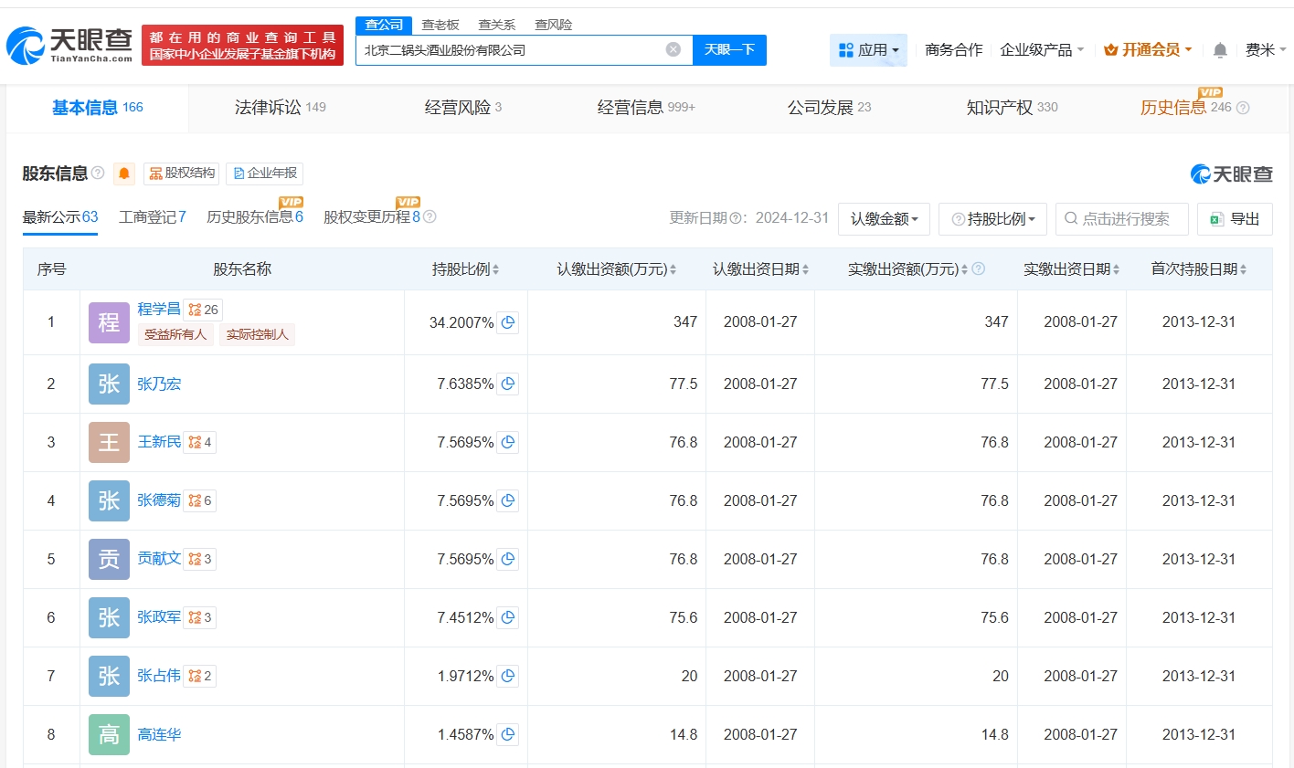
该公司成立于1992年5月,法定代表人为程学昌,注册资本1014.6万人民币,经营范围包括酒制品生产、酒类经营、饮料生产等,由程学昌、张乃宏、王新民等共同持股。



天眼查经营风险信息显示,近日,北京二锅头酒业股份有限公司因违反食品安全法相关规定,被北京经济技术开发区管理委员会罚款10万元。处罚事由显示,该公司存在食品标签未标注“固态法白酒”、未标注警示语、不符合执行标准要求等情形。
该公司成立于1992年5月,法定代表人为程学昌,注册资本1014.6万人民币,经营范围包括酒制品生产、酒类经营、饮料生产等,由程学昌、张乃宏、王新民等共同持股。


