天眼查经营风险信息显示,近日,上海丝芭文化传媒集团有限公司因违反《出版管理条例》,被上海市虹口区文化和旅游局罚款1万元。处罚事由显示,该公司存在未经批准,擅自从事出版物的出版业务的行为,违法经营额及违法所得无法计算,且该行为没有专用的工具、设备。
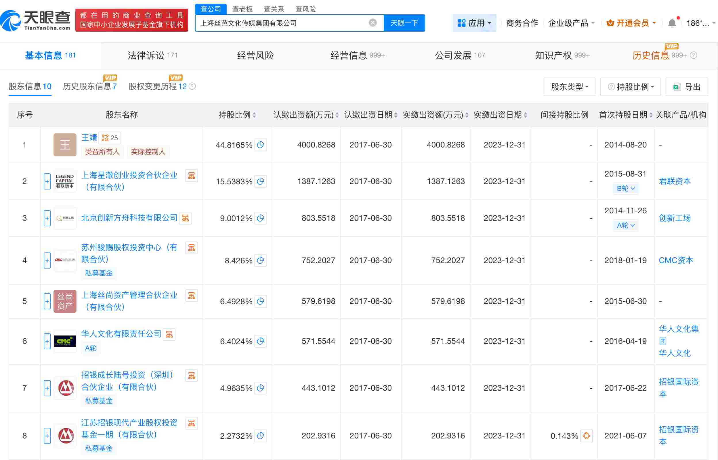
上海丝芭文化传媒集团有限公司成立于2010年5月,法定代表人为王靖,注册资本约8927万人民币,经营范围包括营业性演出、演出经纪、出版物零售等,由王靖、上海星澈创业投资合伙企业(有限合伙)等共同持股。



天眼查经营风险信息显示,近日,上海丝芭文化传媒集团有限公司因违反《出版管理条例》,被上海市虹口区文化和旅游局罚款1万元。处罚事由显示,该公司存在未经批准,擅自从事出版物的出版业务的行为,违法经营额及违法所得无法计算,且该行为没有专用的工具、设备。
上海丝芭文化传媒集团有限公司成立于2010年5月,法定代表人为王靖,注册资本约8927万人民币,经营范围包括营业性演出、演出经纪、出版物零售等,由王靖、上海星澈创业投资合伙企业(有限合伙)等共同持股。


