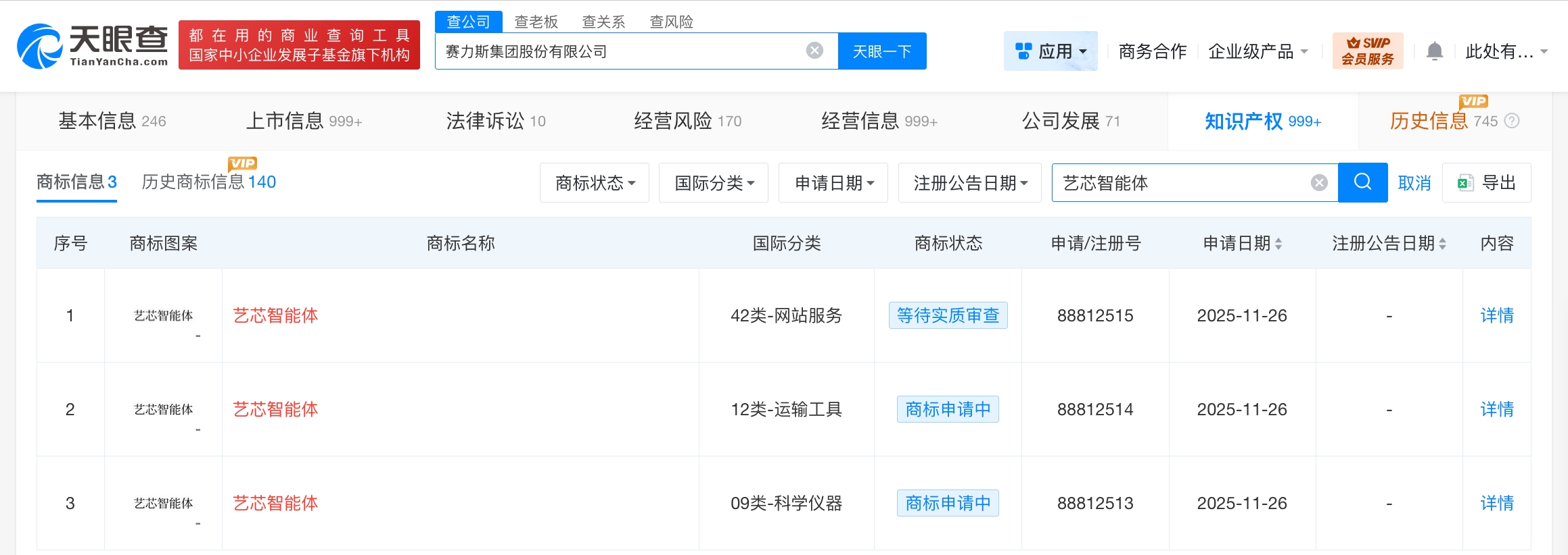
天眼查知识产权信息显示,近日,赛力斯集团股份有限公司申请注册3枚“艺芯智能体”商标,国际分类为科学仪器、运输工具、网站服务,当前商标状态均为等待实质审查。
赛力斯集团股份有限公司成立于2007年5月,法定代表人为张正萍,注册资本约16.3亿人民币,经营范围含制造、销售汽车零部件、机动车辆零部件、普通机械、电器机械、电器、电子产品等。股东信息显示,该公司由重庆小康控股有限公司、东风汽车集团有限公司、重庆渝安汽车工业有限公司等共同持股。



天眼查知识产权信息显示,近日,赛力斯集团股份有限公司申请注册3枚“艺芯智能体”商标,国际分类为科学仪器、运输工具、网站服务,当前商标状态均为等待实质审查。
赛力斯集团股份有限公司成立于2007年5月,法定代表人为张正萍,注册资本约16.3亿人民币,经营范围含制造、销售汽车零部件、机动车辆零部件、普通机械、电器机械、电器、电子产品等。股东信息显示,该公司由重庆小康控股有限公司、东风汽车集团有限公司、重庆渝安汽车工业有限公司等共同持股。


