天眼查App显示,近日,中国广电四川网络股份有限公司发生工商变更,注册资本由约35.6亿人民币增至约40.5亿人民币,增幅约14%。
该公司成立于2010年4月, 法定代表人为王春良,经营范围包括卫星电视广播地面接收设施安装服务、电气安装服务、广播电视节目传送、广播电视节目制作经营等,由中国广电网络股份有限公司、成都广电网络投资有限公司、四川广播电视台等共同持股。



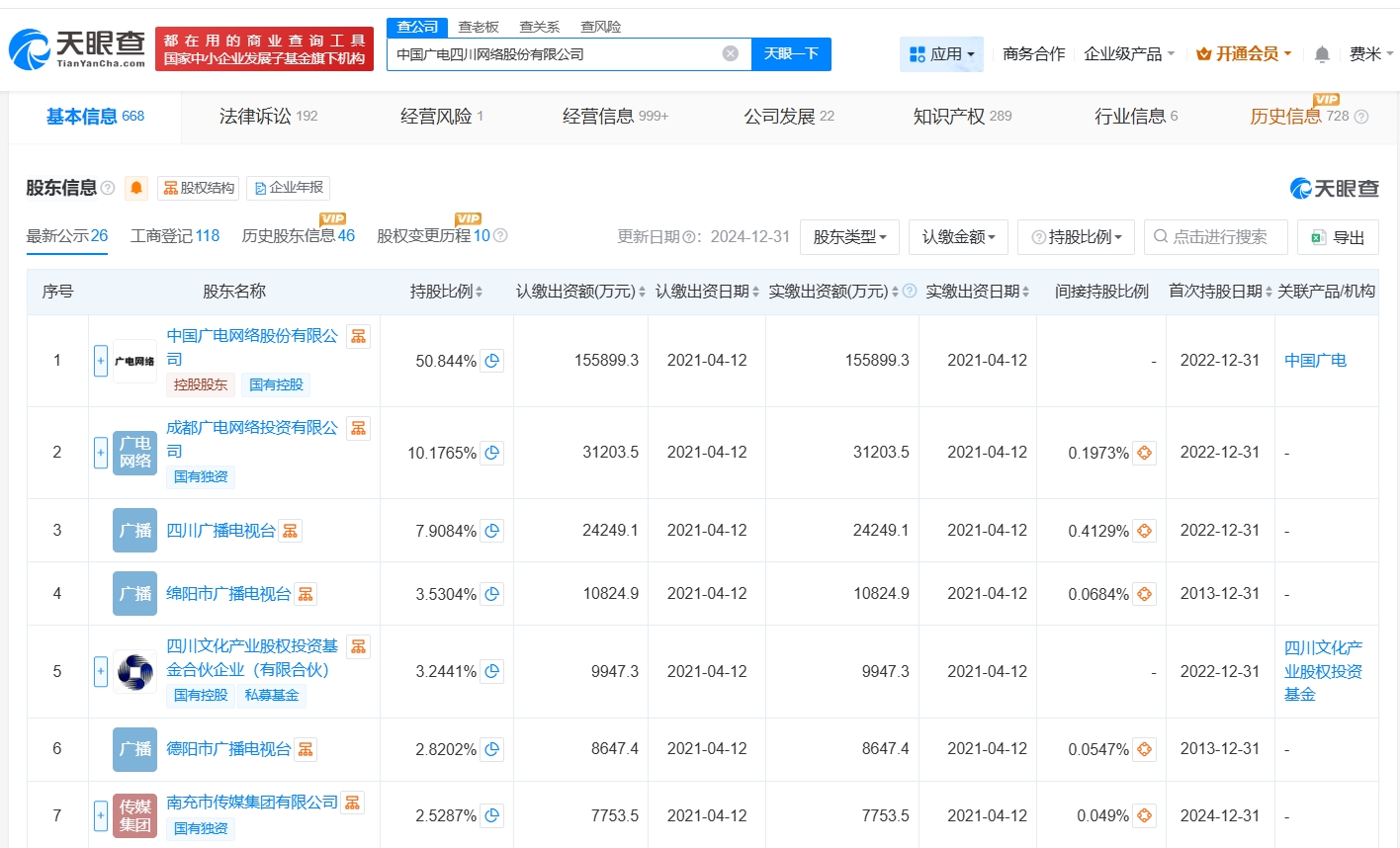
天眼查App显示,近日,中国广电四川网络股份有限公司发生工商变更,注册资本由约35.6亿人民币增至约40.5亿人民币,增幅约14%。
该公司成立于2010年4月, 法定代表人为王春良,经营范围包括卫星电视广播地面接收设施安装服务、电气安装服务、广播电视节目传送、广播电视节目制作经营等,由中国广电网络股份有限公司、成都广电网络投资有限公司、四川广播电视台等共同持股。


