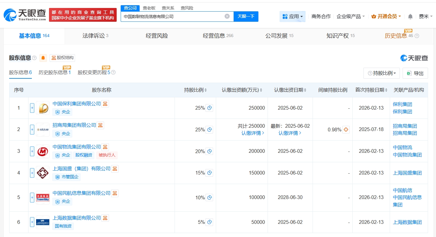
天眼查App显示,近日,中国数联物流信息有限公司发生工商变更,新增中国保利集团有限公司、中国物流集团有限公司等为股东,同时注册资本由4500万人民币增至100亿人民币,增幅约22122%。
该公司成立于1992年11月,法定代表人为张健,经营范围包括第一类增值电信业务、第二类增值电信业务、互联网信息服务等,现由招商局集团有限公司及上述新增股东等共同持股。



天眼查App显示,近日,中国数联物流信息有限公司发生工商变更,新增中国保利集团有限公司、中国物流集团有限公司等为股东,同时注册资本由4500万人民币增至100亿人民币,增幅约22122%。
该公司成立于1992年11月,法定代表人为张健,经营范围包括第一类增值电信业务、第二类增值电信业务、互联网信息服务等,现由招商局集团有限公司及上述新增股东等共同持股。


