据媒体报道,近日,叶璇出演的短剧《少夫人来自东北》观看量、热度值双破亿,相关话题引发关注。
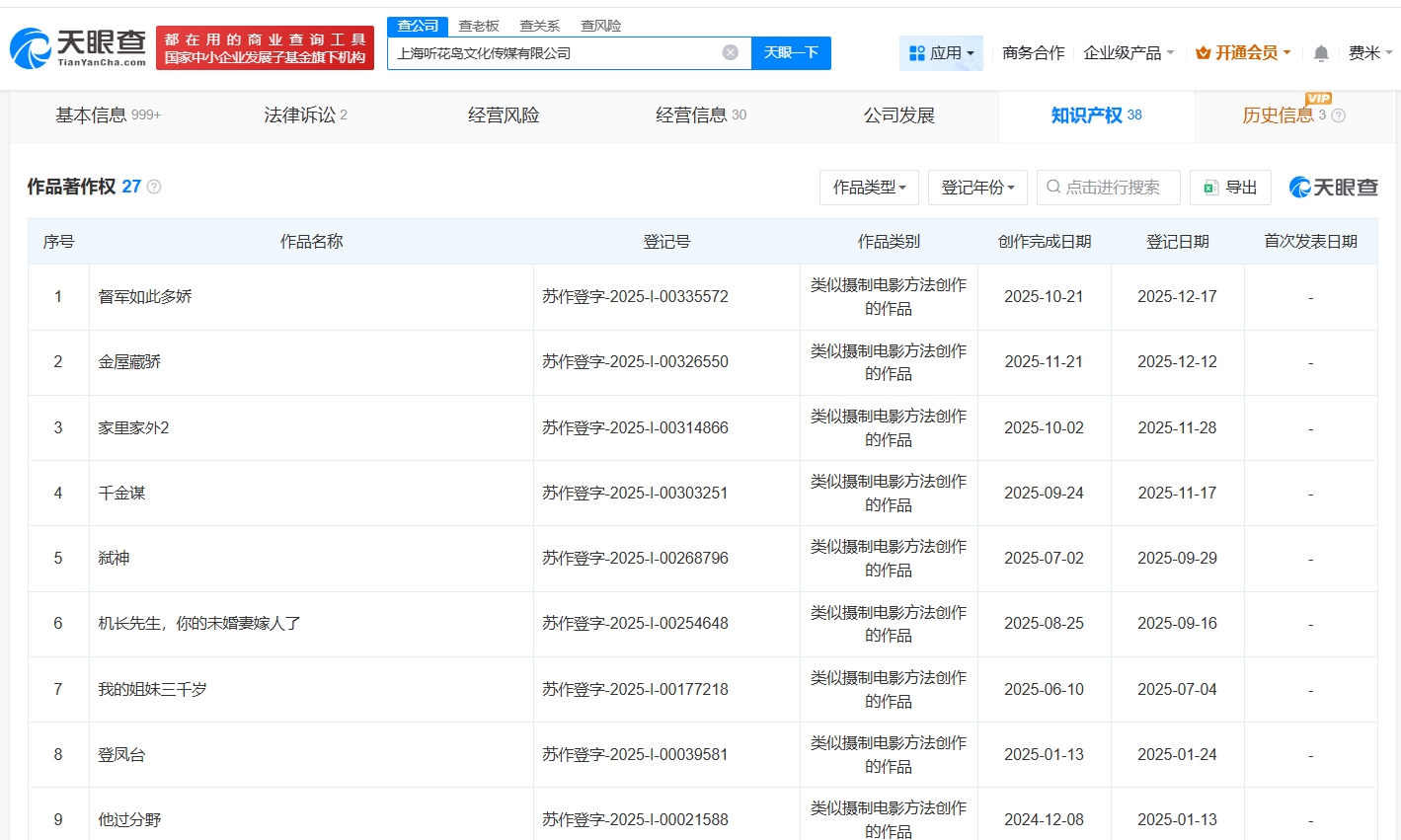
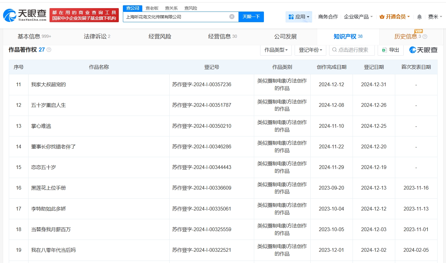
天眼查App显示,该剧出品方听花岛关联公司上海听花岛文化传媒有限公司成立于2023年4月,法定代表人为赵晨,注册资本100万人民币,经营范围包括组织文化艺术交流活动、广播电视节目制作经营、电影摄制服务等。股东信息显示,该公司由赵晨、李荟琴共同持股。知识产权信息显示,该公司曾登记“我在八零年代当后妈”、“家里家外2”等多款热播短剧作品著作权。




据媒体报道,近日,叶璇出演的短剧《少夫人来自东北》观看量、热度值双破亿,相关话题引发关注。
天眼查App显示,该剧出品方听花岛关联公司上海听花岛文化传媒有限公司成立于2023年4月,法定代表人为赵晨,注册资本100万人民币,经营范围包括组织文化艺术交流活动、广播电视节目制作经营、电影摄制服务等。股东信息显示,该公司由赵晨、李荟琴共同持股。知识产权信息显示,该公司曾登记“我在八零年代当后妈”、“家里家外2”等多款热播短剧作品著作权。



