天眼查App显示,近日,白云电器(603861)发生工商变更,胡德兆卸任法定代表人,由胡明聪接任,同时,注册资本由约4.9亿人民币增至约5.4亿人民币,增幅约10%。
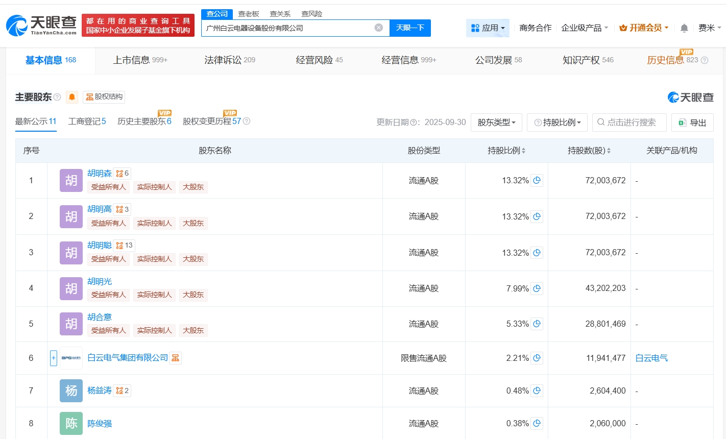
广州白云电器设备股份有限公司成立于1989年7月,经营范围包括输配电及控制设备制造、配电开关控制设备制造、电力设施器材制造等。股东信息显示,该公司由胡明森、胡明高、胡明聪等共同持股。



天眼查App显示,近日,白云电器(603861)发生工商变更,胡德兆卸任法定代表人,由胡明聪接任,同时,注册资本由约4.9亿人民币增至约5.4亿人民币,增幅约10%。
广州白云电器设备股份有限公司成立于1989年7月,经营范围包括输配电及控制设备制造、配电开关控制设备制造、电力设施器材制造等。股东信息显示,该公司由胡明森、胡明高、胡明聪等共同持股。


