据媒体报道,近日美宜佳发布关于部分门店销售假烟问题的致歉声明,称将严肃处置涉事门店。
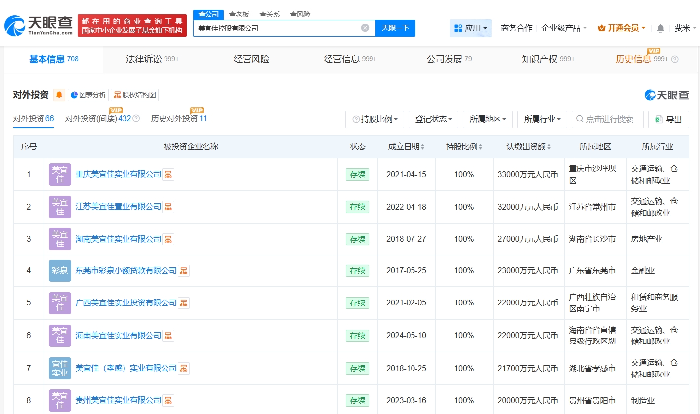
天眼查App显示,美宜佳关联公司美宜佳控股有限公司成立于1997年6月,法定代表人为张国衡,注册资本5000万人民币,经营范围包括企业总部管理、日用品销售、农副产品销售等。股东信息显示,该公司由东莞市糖酒集团有限公司、张国衡、叶志坚等共同持股。法律诉讼信息显示,该公司曾因产品责任纠纷、买卖合同纠纷等被起诉。对外投资信息显示,该公司对外投资60余家企业,其中40余家企业处于存续状态,包括重庆美宜佳实业有限公司、江苏美宜佳置业有限公司等。



























