据媒体报道,针对315曝光漂白鸡爪的问题,王小卤发布公告称公司旗下产品绝不添加双氧水。
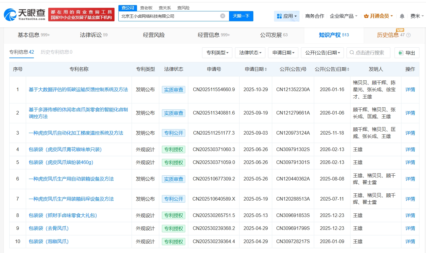
天眼查App显示,王小卤关联公司北京王小卤网络科技有限公司成立于2016年4月,法定代表人为王雄,注册资本约163万人民币,经营范围包括企业形象策划、市场调查、企业管理咨询等。股东信息显示,该公司由王雄、朱章其、沈宏君等共同持股。知识产权信息显示,该公司申请的“包装袋(去骨凤爪)”“包装袋(泡椒凤爪)”等多项鸡爪专利获授权。对外投资信息显示,该公司对外投资6家企业,包括宿迁王小卤食品科技有限公司、安徽王小卤食品科技有限公司、安徽王小卤网络科技有限公司等。
























