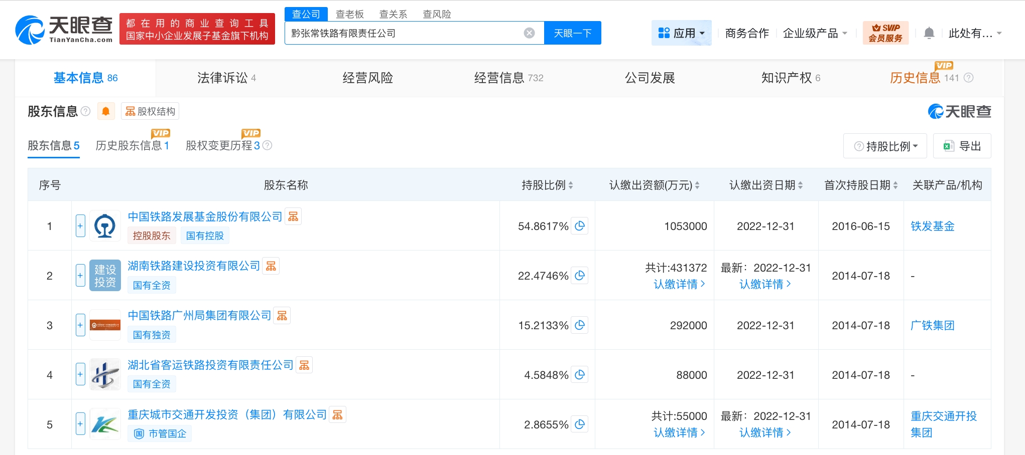
天眼查工商信息显示,近日,黔张常铁路有限责任公司发生工商变更,注册资本由1亿人民币增至约192亿人民币,增幅约19094%,新增中国铁路广州局集团有限公司为股东。
黔张常铁路有限责任公司成立于2014年7月,法定代表人为谭立新,经营范围包括黔江至张家界至常德铁路建设和客货运输、铁路运输设备设施配件的租赁等。股东信息显示,该公司由中国铁路发展基金股份有限公司、湖南铁路建设投资有限公司、湖北省客运铁路投资有限责任公司及上述新增股东等共同持股。



天眼查工商信息显示,近日,黔张常铁路有限责任公司发生工商变更,注册资本由1亿人民币增至约192亿人民币,增幅约19094%,新增中国铁路广州局集团有限公司为股东。
黔张常铁路有限责任公司成立于2014年7月,法定代表人为谭立新,经营范围包括黔江至张家界至常德铁路建设和客货运输、铁路运输设备设施配件的租赁等。股东信息显示,该公司由中国铁路发展基金股份有限公司、湖南铁路建设投资有限公司、湖北省客运铁路投资有限责任公司及上述新增股东等共同持股。


