近日,有消息称王一博与乐华娱乐续约,引发关注。
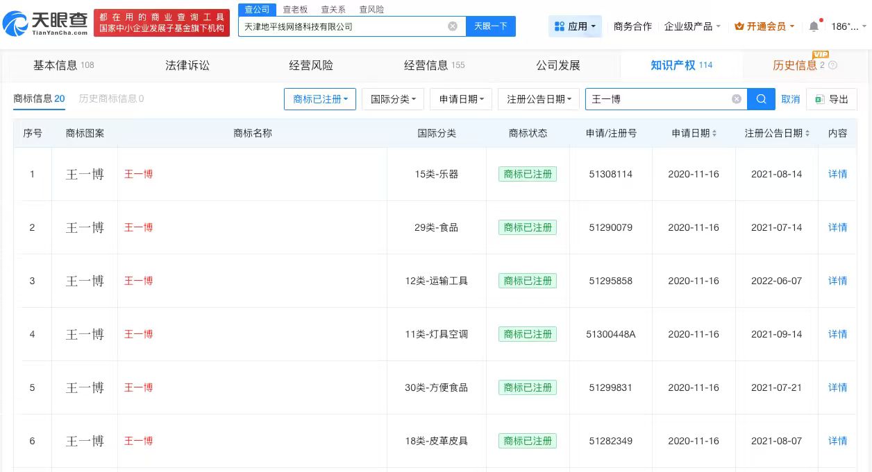
天眼查App显示,王一博名下天津地平线网络科技有限公司已申请注册“王一博”相关商标,国际分类涉及乐器、食品、运输工具等,当前商标状态多为已注册。而乐华娱乐关联北京乐华圆娱文化传播有限公司名下并无“王一博”相关商标。
此外,乐华娱乐(02306.HK)招股书曾披露,王一博为乐华训练生计划毕业生,艺人管理合同初始期限为2014年10月至2022年10月,已续期四年至2026年10月止。

近日,有消息称王一博与乐华娱乐续约,引发关注。
天眼查App显示,王一博名下天津地平线网络科技有限公司已申请注册“王一博”相关商标,国际分类涉及乐器、食品、运输工具等,当前商标状态多为已注册。而乐华娱乐关联北京乐华圆娱文化传播有限公司名下并无“王一博”相关商标。
此外,乐华娱乐(02306.HK)招股书曾披露,王一博为乐华训练生计划毕业生,艺人管理合同初始期限为2014年10月至2022年10月,已续期四年至2026年10月止。
