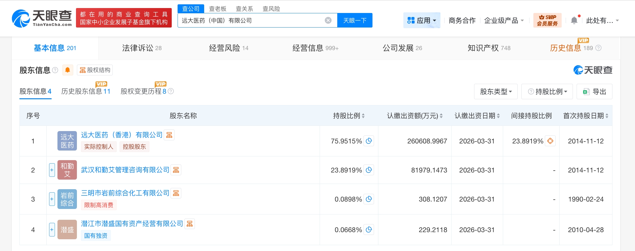
天眼查工商信息显示,近日,远大医药(中国)有限公司发生工商变更,注册资本由约23.5亿人民币增至约34.3亿人民币,增幅约46%。
该公司成立于1990年2月,法定代表人为唐纬坤,经营范围包括药品生产、药品批发、药品进出口等。股东信息显示,该公司由远大医药(香港)有限公司、武汉和勤艾管理咨询有限公司等共同持股。



天眼查工商信息显示,近日,远大医药(中国)有限公司发生工商变更,注册资本由约23.5亿人民币增至约34.3亿人民币,增幅约46%。
该公司成立于1990年2月,法定代表人为唐纬坤,经营范围包括药品生产、药品批发、药品进出口等。股东信息显示,该公司由远大医药(香港)有限公司、武汉和勤艾管理咨询有限公司等共同持股。


