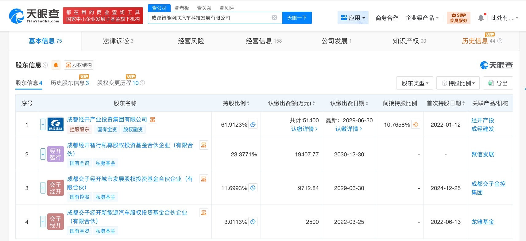
天眼查App显示,近日,成都智能网联汽车科技发展有限公司发生工商变更,注册资本由约6.4亿人民币增至约8.3亿人民币,增幅约31%,同时新增成都经开智行私募股权投资基金合伙企业(有限合伙)为股东。
成都智能网联汽车科技发展有限公司成立于2018年5月,法定代表人为曾邦余,经营范围包括网络预约出租汽车经营服务、机动车检验检测服务、供电业务等。股东信息显示,该公司由成都经开产业投资集团有限公司、成都交子经开城市发展股权投资基金合伙企业(有限合伙)、成都交子经开新能源汽车股权投资基金合伙企业(有限合伙)及上述新增股东共同持股。























