天眼查知识产权信息显示,近日,小米科技有限责任公司申请注册多枚“XIAOMI YU7 GT”商标,国际分类包括运输工具、珠宝钟表等,当前商标状态均为等待实质审查。
小米科技有限责任公司成立于2010年3月,法定代表人为雷军,注册资本约14.8亿人民币,经营范围包括通讯设备销售、厨具卫具及日用杂品批发、厨具卫具及日用杂品零售等,由雷军、刘德共同持股。
公开资料显示,小米YU7 GT是小米汽车计划推出的一款高性能纯电SUV。



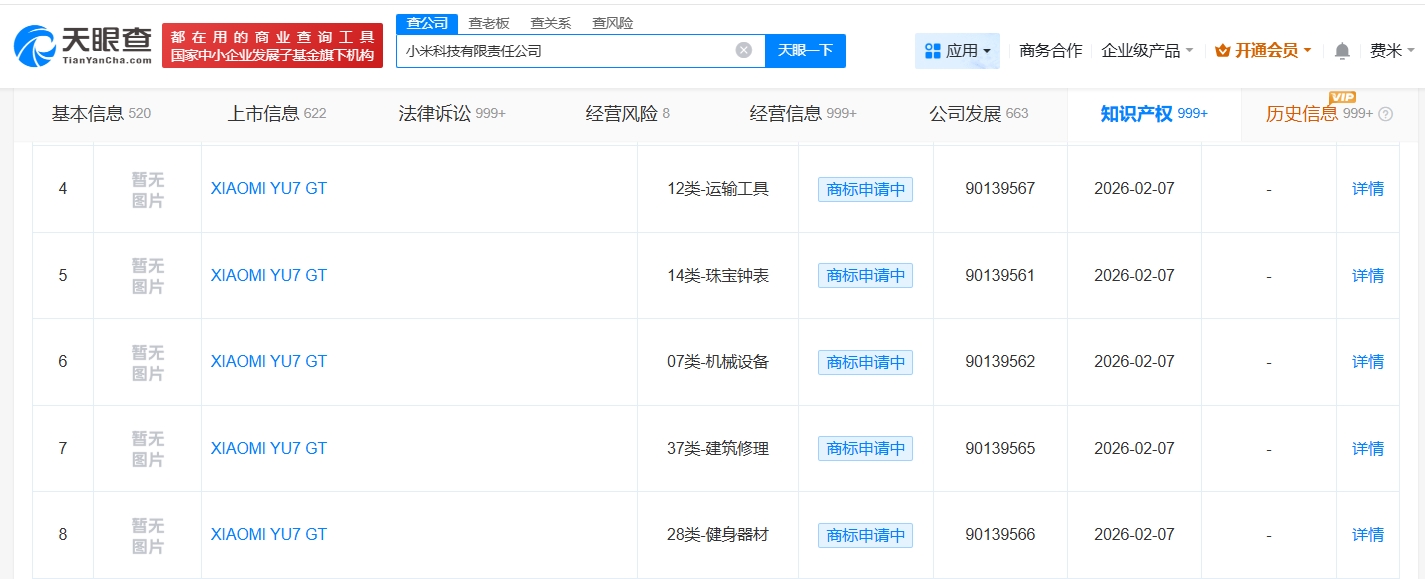
天眼查知识产权信息显示,近日,小米科技有限责任公司申请注册多枚“XIAOMI YU7 GT”商标,国际分类包括运输工具、珠宝钟表等,当前商标状态均为等待实质审查。
小米科技有限责任公司成立于2010年3月,法定代表人为雷军,注册资本约14.8亿人民币,经营范围包括通讯设备销售、厨具卫具及日用杂品批发、厨具卫具及日用杂品零售等,由雷军、刘德共同持股。
公开资料显示,小米YU7 GT是小米汽车计划推出的一款高性能纯电SUV。


