据媒体报道,近日,华谊兄弟发布公告称,公司被债权人申请重整及预重整,相关话题引发热议。
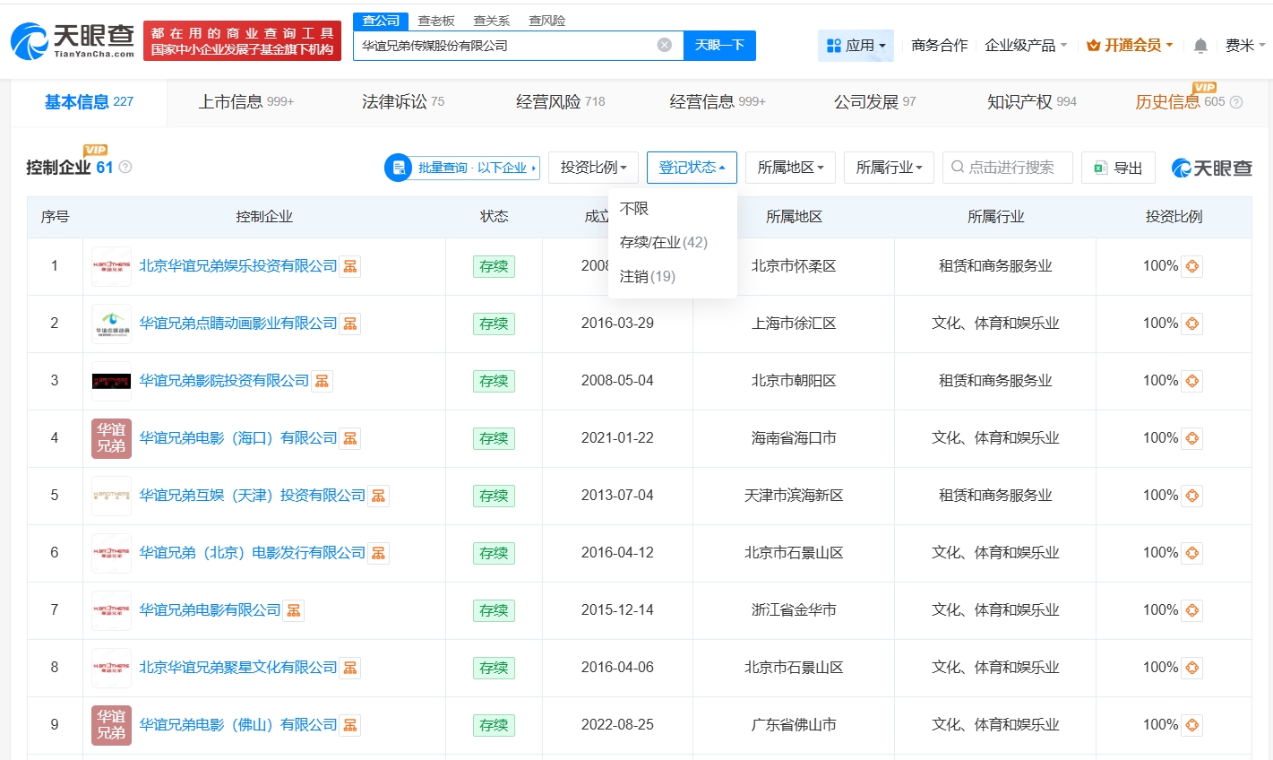
天眼查App显示,华谊兄弟传媒股份有限公司成立于2004年11月,法定代表人为创始人王忠军,注册资本约27.7亿人民币,经营范围包括企业形象策划、影视文化信息咨询服务、影视项目的投资管理等,由王忠军等共同持股。法律诉讼信息显示,该公司及其法定代表人王忠军现存一则限制消费令,执行法院为北京市朝阳区人民法院,案件流程信息显示,此前,该公司已因此案被执行189万余元。控制企业信息显示,该公司旗下超十家企业已注销。




据媒体报道,近日,华谊兄弟发布公告称,公司被债权人申请重整及预重整,相关话题引发热议。
天眼查App显示,华谊兄弟传媒股份有限公司成立于2004年11月,法定代表人为创始人王忠军,注册资本约27.7亿人民币,经营范围包括企业形象策划、影视文化信息咨询服务、影视项目的投资管理等,由王忠军等共同持股。法律诉讼信息显示,该公司及其法定代表人王忠军现存一则限制消费令,执行法院为北京市朝阳区人民法院,案件流程信息显示,此前,该公司已因此案被执行189万余元。控制企业信息显示,该公司旗下超十家企业已注销。



