据媒体报道,4月28日,蔡卓妍宣布结婚。据悉,去年11月,阿Sa被曝与健身教练Elvis林俊贤交往中,阿Sa今年1月在采访承认恋情,3月承认同居并已带男方见家长。
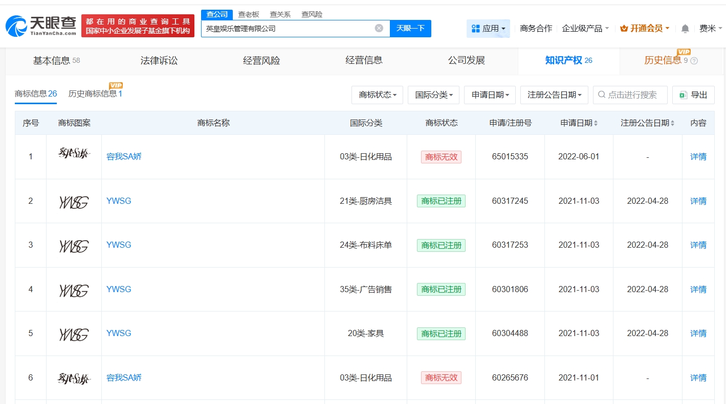
天眼查App显示,英皇娱乐管理有限公司曾申请注册“TWINS”商标,国际分类为皮革皮具、服装鞋帽、布料床单,目前部分商标已成功注册,此外,该公司曾申请注册“容我SA娇”商标,国际分类为日化用品,目前该商标已被驳回,处于无效状态。
公开资料显示,阿娇(钟欣潼)与阿Sa(蔡卓妍)共同签约英皇娱乐,组成组合Twins。


据媒体报道,4月28日,蔡卓妍宣布结婚。据悉,去年11月,阿Sa被曝与健身教练Elvis林俊贤交往中,阿Sa今年1月在采访承认恋情,3月承认同居并已带男方见家长。
天眼查App显示,英皇娱乐管理有限公司曾申请注册“TWINS”商标,国际分类为皮革皮具、服装鞋帽、布料床单,目前部分商标已成功注册,此外,该公司曾申请注册“容我SA娇”商标,国际分类为日化用品,目前该商标已被驳回,处于无效状态。
公开资料显示,阿娇(钟欣潼)与阿Sa(蔡卓妍)共同签约英皇娱乐,组成组合Twins。

