ITBear科技资讯
手机版
二维码
内容搜索
无障碍通道
语言:
中文
EN
ITBear旗下自媒体矩阵:
网站首页
业界动态
人工智能
手机快报
数码极客
数字家电
智能汽车
商业消费
信息流
企业天眼
热点资讯
小熊财经
滚动资讯
2026年立得客登登AI数字人:以技术之力筑牢直播合规安全网
04-07
涡街流量计怎么样?高精度宽量程,智能温压补偿助力工业流量精准测量
04-07
AI与数据中心需求爆发,三星一季报利润创新高,存储芯片价格飙升
04-07
AI数据中心“热岛效应”凸显:周边升温影响超3.4亿人生活环境
04-07
面壁智能再获数亿元融资 加速大模型研发与终端场景量产落地
04-07
2025年我国广告业年收入首破2万亿:数智赋能、主体提效、区域更平衡
04-07
宇树科技移动机器人专利获授权 发明人为王兴兴等
东营辉煌绿色锂电新材料产业投资基金成立 出资额约12亿
郭艾伦企业已注册篮球训练营商标
极氪汽车在温州成立新销售服务公司 注册资本1000万
起底直播间涉黄牛奶关联公司
浙江杭资科创创业投资基金登记成立 出资额20.02亿
东方国信旗下内蒙古科技公司增资至10亿 增幅100%
杨幂维权索赔5万
宁德时代在呼和浩特成立新科技公司 注册资本1000万
中国通号旗下低空智能科技公司增资至8亿 增幅约167%
当前位置:
首页
>
资讯
>
企业天眼
宇树科技移动机器人专利获授权 发明人为王兴兴等
东营辉煌绿色锂电新材料产业投资基金成立 出资额约12亿
郭艾伦企业已注册篮球训练营商标
极氪汽车在温州成立新销售服务公司 注册资本1000万
起底直播间涉黄牛奶关联公司
户外运动带动春日消费热 广东和浙江两地户外运动相关企业最多
2025-04-08
丝芭新增合同纠纷 马玉灵因合同纠纷起诉丝芭
2025-04-08
智元机器人等在宁波成立普智未来机器人公司 注册资本500万
2025-04-08
何秋事已被申请注册为商标 何秋事商标已被申请注册
2025-04-08
海航航空在海南成立地空机航空科技公司 含多项AI业务
2025-04-08
极越汽车被执行2.69亿 极越汽车成被执行人
2025-04-08
吉利集团旗下醇氢生态增资至约12亿 增幅超20%
2025-04-08
中国航天等在海南成立航天卫星超级工厂公司 注册资本5亿
2025-04-08
北汽集团等成立安鹏绿色创投基金 出资额10亿
2025-04-08
侵权赵丽颖公司法定代表人成老赖 侵权赵丽颖化妆品公司被限制高消费
2025-04-08
智元机器人申请注册AgiBot G3商标 智元机器人申请注册具身智能技术系列商标
2025-04-08
贵州民航低空经济发展公司登记成立 注册资本8000万
2025-04-08
司马南工作室申请的司马南商标获批 司马南工作室成功注册司马南商标
2025-04-08
苏州智能机器人科技发展公司登记成立 注册资本5亿
2025-04-08
华为引望申请注册INWO ADS商标
2025-04-08
恒大地产等被执行65亿
2025-04-08
国泰君安更名国泰海通完成工商变更 国泰海通证券增资至176.3亿
2025-04-08
哈啰在广州成立造父智能科技公司 含AI软件开发业务
2025-04-07
蜜雪冰城旗下一公司经营异常 广州蜜雪冰城餐饮管理公司经营异常
2025-04-07
姚振华再被冻结3亿股权 姚振华所持3亿股权被冻结
2025-04-07
起底微软旗下关停中国区业务合资公司 微软旗下微创公司涉多个劳动合同纠纷
2025-04-07
移远通信成立睿远智行技术公司 注册资本500万
2025-04-07
十个勤天节目制作许可续期 十个勤天节目制作许可延续通过审批
2025-04-07
张雅琪退出名下电商公司 张雅琪名下仅关联1家公司
2025-04-07
均胜电子成立具身智能机器人公司 注册资本3.6亿
2025-04-07
领克汽车在上海成立销售服务公司 注册资本1000万
2025-04-07
张雪峰公司成立峰阅优学教育科技公司 注册资本100万
2025-04-07
首创集团30亿成立奥特莱斯控股公司
2025-04-07
赵露思近期起诉多方侵权 赵露思近期维权胜诉
2025-04-07
钟睒睒退出浙江养生堂销售公司法定代表人 钟睒睒卸任浙江养生堂销售公司执行董事
2025-04-07
舍得酒业在四川成立物流服务公司
2025-04-07
VIVO申请注册MR头显商标 VIVO申请注册AI眼镜商标
2025-04-07
蚂蚁集团、联想控股等入股旷视科技 后者增资至3394.2万
2025-04-07
蔡徐坤黑粉登报道歉 蔡徐坤维权案胜诉
2025-04-07
宁德时代在青岛成立新能源科技公司 注册资本2000万
2025-04-07
东风汽车在成都成立乘用车科技公司 注册资本1亿
2025-04-07
新东方在厦门成立智慧空间服务公司 注册资本1000万
2025-04-07
人脸信息保护新规出台 湖南广东两省人脸识别相关企业最多
2025-04-07
清明五一档电影市场火热 广东北京两地影院相关企业数量最多
2025-04-07
银发旅游热激活经济新引擎 我国已存在银发经济相关企业超36.4万家
2025-04-07
低空经济蓄势待发新机遇 我国已存在相关企业超7.5万家
2025-04-07
蚂蚁集团在西安成立信息技术公司 注册资本1000万
2025-04-07
字节跳动登记即梦AI作品著作权 字节跳动登记Dreamina AI作品著作权
2025-04-07
米哈游旗下两家科技公司大幅增资 米哈游旗下多家公司近期接连大幅增资
2025-04-07
多方申请李美越商标被驳回 揭秘网红李美越名下公司
2025-04-07
广汽集团等入股广东新型储能
2025-04-07
北京中关村科学城三期科技成长股权基金登记成立 出资额100亿
2025-04-07
长江产投建信投资等在湖北成立股权基金 出资额6亿
2025-04-07
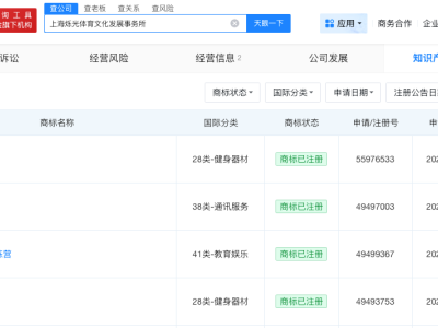
奥运冠军郑思维名下一公司拟注销 郑思维名下温州体育公司拟注销
2025-04-07
Uzi起诉RNG将开庭
2025-04-07
第
151
页/共
165
页
首页
下一页
上一页
尾页
今日头条
优必选与本田贸易在人形机器人与无人车领域达成战略合作
长城汽车3月销量公布:整体增长态势良好,各品牌表现有喜有忧
吉利博越L小蓝灯版来袭!限时价11.99万,配置升级,与长安CS75PLUS谁更香?
消息爆料:iPhone 18 Pro 或推灰银深红三色 红色首登 Pro 机型
博越L小蓝灯版上市:以智能破局 引领燃油车迈入“油电同智”新时代
奥迪车主兑现赌约购小米SU7 上汽奥迪喊话:欢迎回来感受quattro脚感
热门内容
整改还是出清?追踪2025年315被曝光企业的最终命运
起底贴牌修正药业涉事公司
起底问题儿童药膏涉事工厂
晋江文学城涉多起名誉权纠纷
张雪峰公司已注册其女儿名字商标
腾讯商业版图盘点
张雪退出凯越机车同年参保人数骤降98%
华图教育被冻结10亿股权
汾酒曾因劳动合同纠纷被起诉
蒙牛友芝友乳业近期变更高管
于谦持股公司被执行1431万
百度旗下基金等入股日冕机器人
胖东来商业版图涉多个领域
姚振华及观致汽车等被执行5038万
腾讯近期因内容违规被罚
全站最新
AI数据中心“热岛效应”凸显:周边升温影响超3.4亿人生活环境
2025年我国广告业年收入首破2万亿:数智赋能、主体提效、区域更平衡
雷军马云罕见“同框”加码,千寻智能30天狂揽30亿引关注
OpenAI高层“内讧”:CEO力推IPO,CFO担忧财务风险引分歧
布油跳水跌超1%
布油跌超2%
网站首页
|
关于我们
|
联系方式
|
版权声明
|
争议稿件处理
|
English Version
本网站LOGO小熊标志受版权保护,版权登记号:鲁作登字-2015-F-025467,未经ITBEAR比尔科技官方许可,严禁使用。
声明:本网站是公益性科普网站,为网友提供科技类资讯内容,无障碍技术由太阳湾捐增,为阅读障碍用户提供内容听读服务。如本站内容侵犯了您的权利,请
通知我们
及时删除。
中国(山东)自由贸易试验区
鲁ICP备11015305号-1
联系入口
Copyright © 比尔科技 2007-2024 ITBEAR.COM.CN All rights reserved.