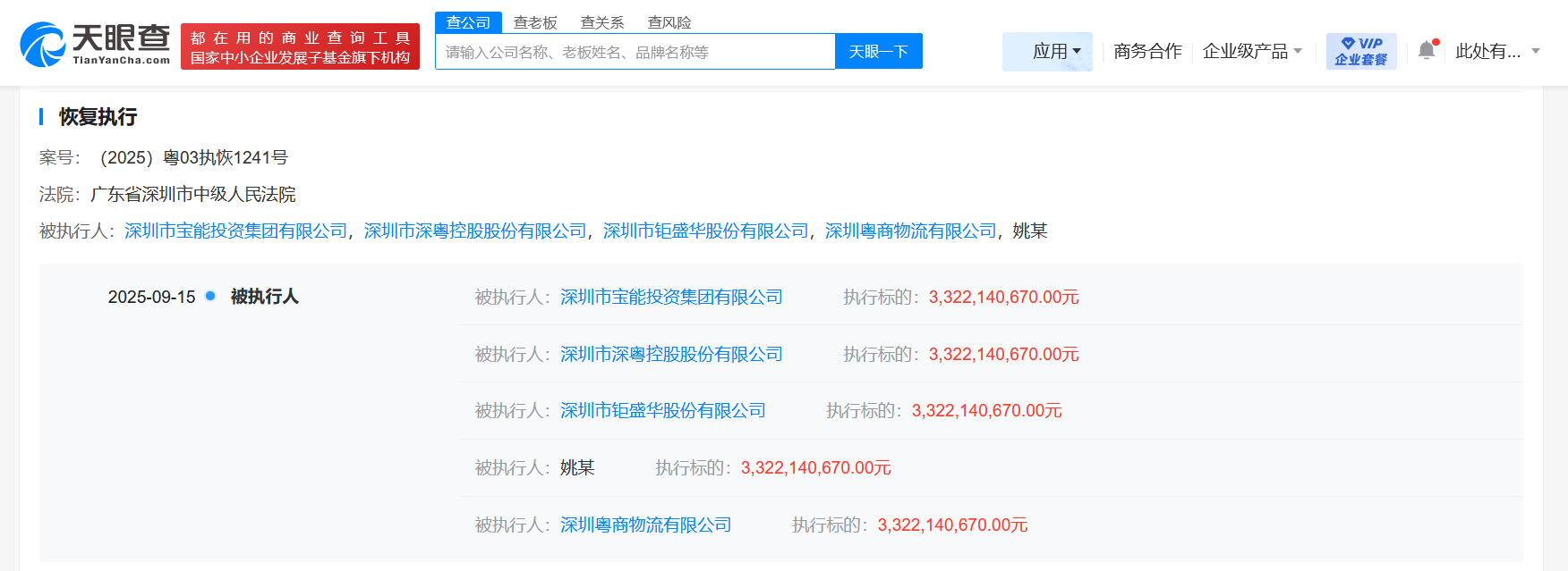
天眼查App显示,9月15日,姚振华、深圳市宝能投资集团有限公司、深圳市钜盛华股份有限公司等新增一则恢复执行信息,执行标的33.2亿余元,执行法院为广东省深圳市中级人民法院。
深圳市宝能投资集团有限公司成立于2000年3月,法定代表人为姚振华,注册资本约3亿人民币,由姚振华、深圳赛康资产管理有限公司共同持股。天眼风险信息显示,该公司现存65条被执行人信息,被执行总金额超485亿余元,此外,该公司还存在多条限制消费令、失信被执行人(老赖)及终本案件信息。



天眼查App显示,9月15日,姚振华、深圳市宝能投资集团有限公司、深圳市钜盛华股份有限公司等新增一则恢复执行信息,执行标的33.2亿余元,执行法院为广东省深圳市中级人民法院。
深圳市宝能投资集团有限公司成立于2000年3月,法定代表人为姚振华,注册资本约3亿人民币,由姚振华、深圳赛康资产管理有限公司共同持股。天眼风险信息显示,该公司现存65条被执行人信息,被执行总金额超485亿余元,此外,该公司还存在多条限制消费令、失信被执行人(老赖)及终本案件信息。


