据媒体报道,10月10日晚,自一位娃哈哈内部人士获悉,宗馥莉已于9月12日向娃哈哈集团有限公司辞去公司法人代表、董事及董事长等相关职务并已通过集团股东会和董事会的相关程序。娃哈哈集团表示,宗馥莉辞职属实。值得注意的是,宗馥莉在2024年7月也曾提出辞职,辞去娃哈哈集团副董事长、总经理职务。
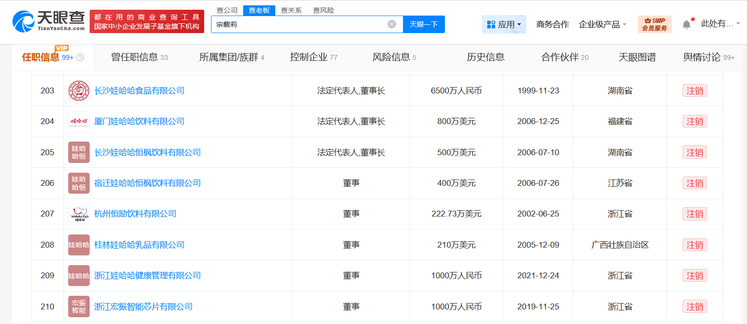
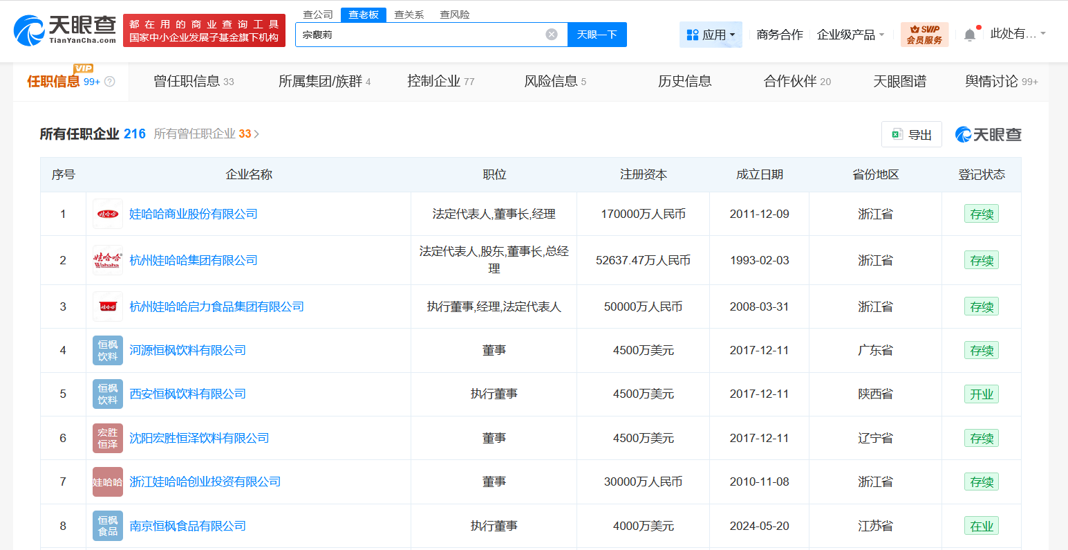
天眼查任职信息显示,宗馥莉名下关联210余家企业,其中200余家为存续或开业状态,包括娃哈哈商业股份有限公司、杭州娃哈哈集团有限公司等。值得注意的是,宗馥莉名下10余家企业已注销。其中,浙江娃哈哈健康管理有限公司、浙江宏振智能芯片有限公司、浙江德清娃哈哈科技创新中心有限公司于近期注销。此外,南京娃哈哈宏振饮用水有限公司、江山娃哈哈宏振饮用水有限公司也于近期发布简易注销公告。























