天眼查App显示,近日,合宝文娱集团有限公司新增1条被执行人信息,执行标的9801元,执行法院为广州市海珠区人民法院。今年5月,该公司被恢复执行48万余元。
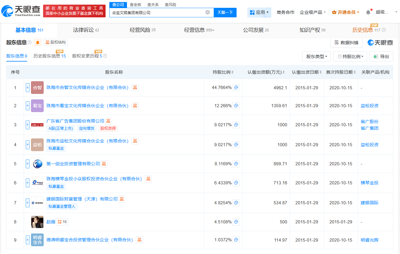
该公司成立于2015年1月,法定代表人为赵智,注册资本约1.1亿人民币,经营范围包括广播电视节目制作经营、电影发行、演出经纪等,由珠海市合智文化传媒合伙企业(有限合伙)、珠海市看宝文化传媒合伙企业(有限合伙)、赵薇等共同持股,其中赵薇持股约4.5%。风险信息显示,此前,赵薇所持有的该公司500万股权已被冻结。



天眼查App显示,近日,合宝文娱集团有限公司新增1条被执行人信息,执行标的9801元,执行法院为广州市海珠区人民法院。今年5月,该公司被恢复执行48万余元。
该公司成立于2015年1月,法定代表人为赵智,注册资本约1.1亿人民币,经营范围包括广播电视节目制作经营、电影发行、演出经纪等,由珠海市合智文化传媒合伙企业(有限合伙)、珠海市看宝文化传媒合伙企业(有限合伙)、赵薇等共同持股,其中赵薇持股约4.5%。风险信息显示,此前,赵薇所持有的该公司500万股权已被冻结。


