据媒体报道,近日,有公司HR在BOSS直聘发布“前台”的招聘信息时,被提示“该职位竞争激烈,属于竞招职位,所有BOSS均需付费发布”。还有HR称,招聘洗碗工、服务员与水吧员这类基础岗位时,也被系统判定为竞招职位。
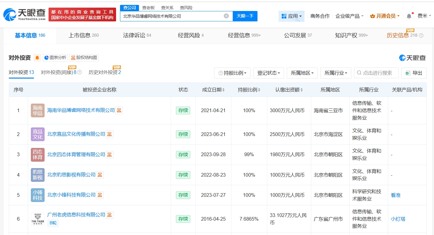
天眼查App显示,Boss直聘关联公司北京华品博睿网络技术有限公司成立于2013年12月,法定代表人为张雪,注册资本1000万人民币,经营范围包括技术推广服务、计算机系统服务、软件开发等,由赵鹏、岳旭共同持股。对外投资信息显示,该公司对外投资13家企业,其中9家处于存续状态,包括海南华品博睿网络技术有限公司、北京直品文化传播有限公司、北京四态体育管理有限公司等。法律诉讼信息显示,该公司涉及多起诉讼案件,案由涉及合同纠纷、网络服务合同纠纷等。
























