在高性能混合动力系统的赛道上,轴向磁通电机正成为一颗冉冉升起的新星。这种以轻量化、紧凑结构与强劲功率输出为特点的新兴技术,已率先被法拉利和兰博基尼应用于部分最新车型中。如今,保时捷也展现出对这一技术的浓厚兴趣,或将在未来车型中跟进布局。

根据世界知识产权组织披露的专利信息,保时捷正在研发一套创新混合动力系统,其核心是将供应商Yasa提供的小型轻量化轴向磁通电机与燃油发动机相结合。该专利不仅覆盖所有乘用车领域,还特别强调了“跑车”这一关键应用场景,暗示保时捷或将在跑车产品线中率先落地这一技术。
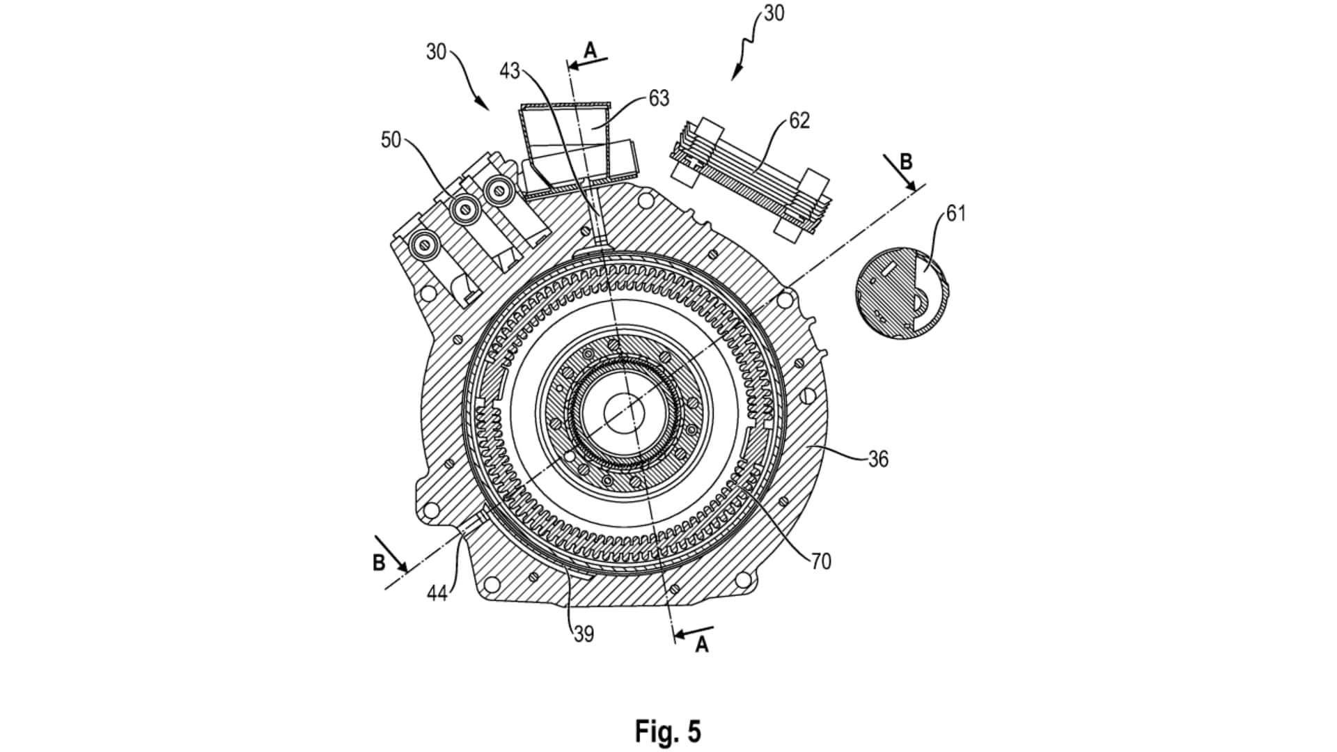
与传统径向磁通电机相比,轴向磁通电机的设计优势显著。以保时捷911 Carrera GTS搭载的径向磁通电机为参照,轴向磁通电机薄如盘片,厚度仅7.87厘米(部分应用场景)。这种超薄结构使其能够直接安装在发动机与变速箱之间,甚至可嵌入双质量飞轮组件内,几乎不增加动力总成的长度。这意味着发动机与电机仍可保持在驾驶员身后,维持经典的中后置布局,无需因电机加入而重新设计车身结构。
在动力协同方面,该系统通过双离合变速箱实现电机与燃油发动机的高效配合。Yasa电机的性能数据尤为亮眼:其单台电机最大输出功率超过470马力,峰值扭矩达800牛·米。作为对比,法拉利SF90搭载的三台Yasa电机合计输出217马力,兰博基尼Revuelto的两台电机输出略低于296马力,但这两款车型均配备V8或V12发动机,总功率均突破1000马力,凸显了轴向磁通电机在混合动力系统中的补充作用。
保时捷现有车型的动力数据可作为参考:当前911 Carrera GTS的电机单独输出约54马力和149牛·米,与水平对置六缸发动机配合后,总系统输出为532马力和609牛·米。若未来量产车采用新型轴向磁通电机,性能提升空间巨大。例如,若与涡轮增压3.6升发动机结合,综合输出可能突破800甚至900马力,这一功率水平恰好契合保时捷GT2、GT3系列甚至传闻中的旗舰超跑定位。

专利还揭示了该系统的另一设计亮点——散热优化。当电机与燃油发动机结合“杯状或钟形”透气腔时,两者均可获得充足冷却,有效降低热量积聚风险。该系统兼容性广泛,既适用于中置发动机布局,也适用于后置发动机布局,但需发动机纵向布置并与横置双离合变速箱配合。尽管目前尚不明确是否支持手动变速箱,但这一可能性仍为性能爱好者留下了想象空间。











