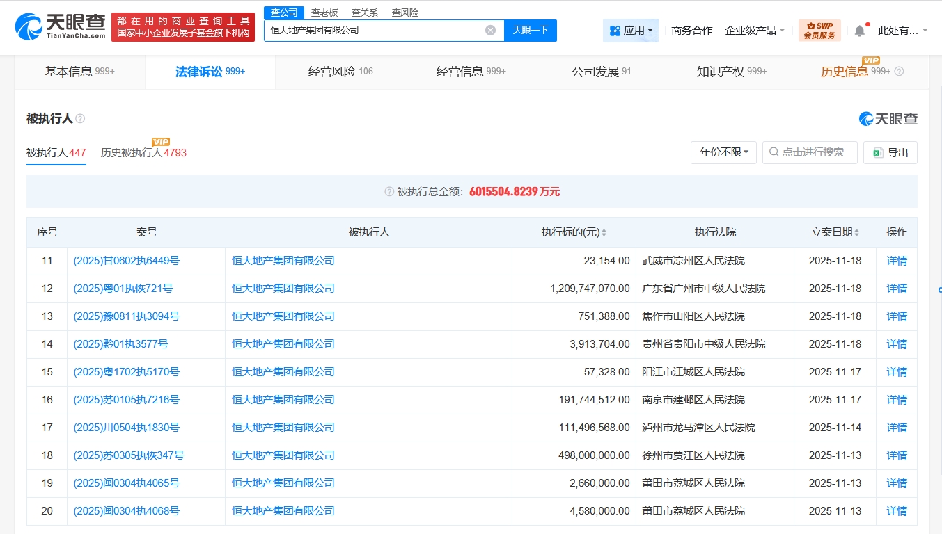
天眼查App显示,11月18日至20日,恒大地产集团有限公司新增14条被执行人及恢复执行信息,执行标的合计12.2亿余元,部分案件被执行人还包括浙江大卫房地产开发有限公司、上海丰涛置业有限公司等,执行法院包括广东省广州市中级人民法院、贵州省贵阳市中级人民法院等。
天眼风险信息显示,恒大地产集团有限公司现存440余条被执行人信息,被执行总金额超601亿元,此外,该公司还存在多条限制消费令、失信被执行人(老赖)及终本案件信息。


天眼查App显示,11月18日至20日,恒大地产集团有限公司新增14条被执行人及恢复执行信息,执行标的合计12.2亿余元,部分案件被执行人还包括浙江大卫房地产开发有限公司、上海丰涛置业有限公司等,执行法院包括广东省广州市中级人民法院、贵州省贵阳市中级人民法院等。
天眼风险信息显示,恒大地产集团有限公司现存440余条被执行人信息,被执行总金额超601亿元,此外,该公司还存在多条限制消费令、失信被执行人(老赖)及终本案件信息。

