ITBear旗下自媒体矩阵:

姚振华及宝能集团等被恢复执行45亿

   时间:2025-11-26 12:12:57 来源:天眼查编辑:快讯 IP:北京 发表评论无障碍通道
 

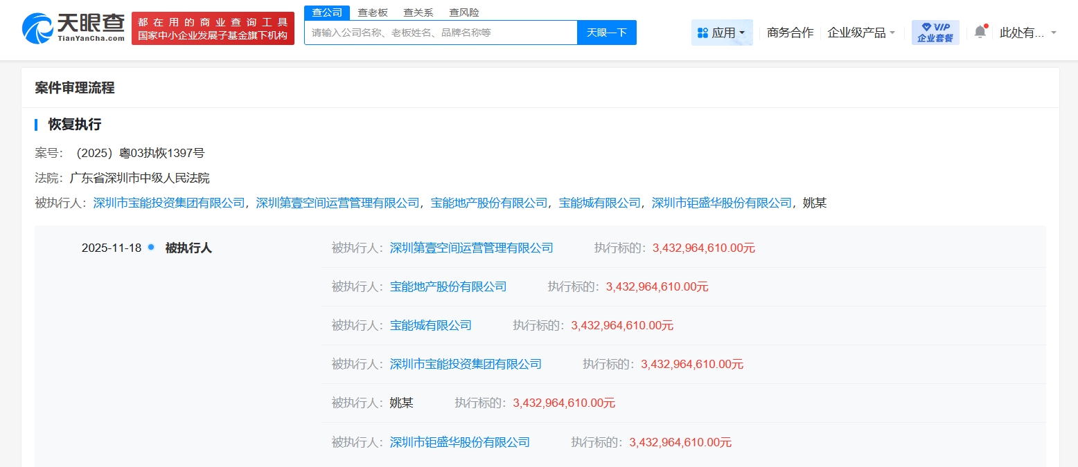
天眼查App显示,近日,深圳市宝能投资集团有限公司新增3则恢复执行信息,执行标的合计45亿余元,被执行人还包括姚振华、宝能地产股份有限公司等,执行法院为广东省深圳市中级人民法院。

天眼风险信息显示,深圳市宝能投资集团有限公司现存50条被执行人信息,被执行总金额超540亿元,此外,该公司还存在多条限制消费令、失信被执行人(老赖)及终本案件信息。

a509e92d63e0c6a5338772beb490a7cd.jpg

1499d64c0181a0eb07dad640eec726b8.jpg

 
 
更多>同类资讯
全站最新
热门内容
网站首页  |  关于我们  |  联系方式  |  版权声明  |  争议稿件处理  |  English Version