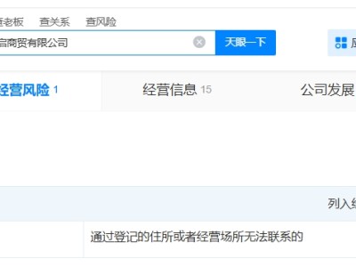
11月25日,k总回应“圈钱”指控称,强调年初婚礼后未关注网络舆论,导致恶意谣言扩散。其中一条诽谤视频获8万点赞、5万评论,其已启动法律程序起诉造谣者,并声明不再接受调解或道歉,索赔金额可能达十几万元。
第三方数据显示,k总视频平台现有粉丝数为1414.1万,过去30日涨粉4.64万。此外,其1-20s视频广告报价为60万元,21-60s视频广告报价为70万元,60s以上视频广告报价为80万元。
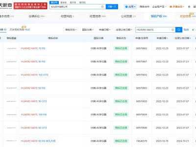
天眼查知识产权信息显示,河北一生物科技公司已成功注册“K总”商标,国际分类为医药。




11月25日,k总回应“圈钱”指控称,强调年初婚礼后未关注网络舆论,导致恶意谣言扩散。其中一条诽谤视频获8万点赞、5万评论,其已启动法律程序起诉造谣者,并声明不再接受调解或道歉,索赔金额可能达十几万元。
第三方数据显示,k总视频平台现有粉丝数为1414.1万,过去30日涨粉4.64万。此外,其1-20s视频广告报价为60万元,21-60s视频广告报价为70万元,60s以上视频广告报价为80万元。
天眼查知识产权信息显示,河北一生物科技公司已成功注册“K总”商标,国际分类为医药。



