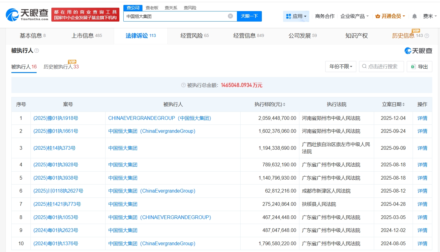
天眼查法律诉讼信息显示,近日,中国恒大集团、恒大新能源汽车投资控股集团有限公司等新增一则被执行人信息,执行标的20.5亿余元,执行法院为河南省郑州市中级人民法院。
风险信息显示,中国恒大集团现存10余条被执行人信息,被执行总金额超146亿元,此外还存在多条终本案件信息。


天眼查法律诉讼信息显示,近日,中国恒大集团、恒大新能源汽车投资控股集团有限公司等新增一则被执行人信息,执行标的20.5亿余元,执行法院为河南省郑州市中级人民法院。
风险信息显示,中国恒大集团现存10余条被执行人信息,被执行总金额超146亿元,此外还存在多条终本案件信息。

