天眼查天眼风险信息显示,近日,内蒙古蒙牛乳业(集团)股份有限公司新增一则被执行人信息,执行标的500万人民币,执行法院为江苏省南京市中级人民法院。
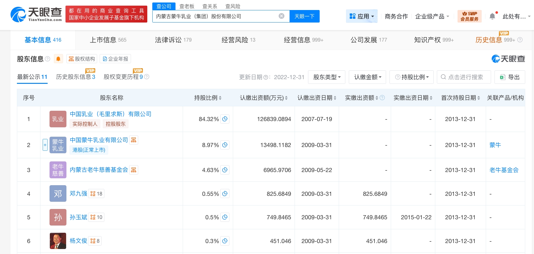
工商信息显示,内蒙古蒙牛乳业(集团)股份有限公司成立于1999年8月,法定代表人为高飞,注册资本约15亿人民币,经营范围含乳制品生产、食品生产、食品添加剂生产、动物饲养、饮料生产、食品销售等。股东信息显示,该公司由中国乳业(毛里求斯)有限公司、中国蒙牛乳业有限公司、内蒙古老牛慈善基金会等共同持股。



天眼查天眼风险信息显示,近日,内蒙古蒙牛乳业(集团)股份有限公司新增一则被执行人信息,执行标的500万人民币,执行法院为江苏省南京市中级人民法院。
工商信息显示,内蒙古蒙牛乳业(集团)股份有限公司成立于1999年8月,法定代表人为高飞,注册资本约15亿人民币,经营范围含乳制品生产、食品生产、食品添加剂生产、动物饲养、饮料生产、食品销售等。股东信息显示,该公司由中国乳业(毛里求斯)有限公司、中国蒙牛乳业有限公司、内蒙古老牛慈善基金会等共同持股。


