据报道,近日,重庆合川女孩“呆呆”通过个人社交平台发布消息称,自己将对外赠送春联。
第三方数据显示,“呆呆”视频平台账号近30日涨粉268.71万。商业化水平显示,其1-20s视频预估报价为870元,21-60s视频预估报价为1100元,60s以上视频预估报价为2400元。
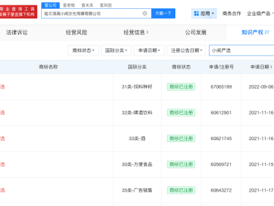
天眼查知识产权信息显示,“呆呆”商标已被申请注册,申请人包括重庆某科技有限公司、泗阳县某网络科技有限公司等,国际分类涉及厨房洁具、日化用品、科学仪器等,当前商标状态多为已注册。


据报道,近日,重庆合川女孩“呆呆”通过个人社交平台发布消息称,自己将对外赠送春联。
第三方数据显示,“呆呆”视频平台账号近30日涨粉268.71万。商业化水平显示,其1-20s视频预估报价为870元,21-60s视频预估报价为1100元,60s以上视频预估报价为2400元。
天眼查知识产权信息显示,“呆呆”商标已被申请注册,申请人包括重庆某科技有限公司、泗阳县某网络科技有限公司等,国际分类涉及厨房洁具、日化用品、科学仪器等,当前商标状态多为已注册。

