据媒体报道,2月4日早间,大润发母公司高鑫零售在港交所发布公告称,公司暂时与CEO李卫平无法取得联系。这也意味着这位刚刚入职仅两个月的上市公司CEO“失联”了。
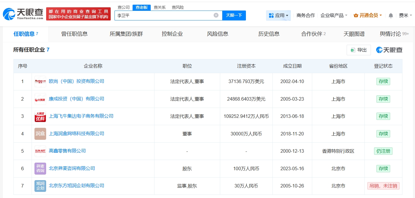
天眼查任职信息显示,李卫平名下关联7家企业,其中6家处于存续或者仍注册状态,包括高鑫零售有限公司、康成投资(中国)有限公司、上海润盒网络科技有限公司等,李卫平在上述企业担任法定代表人、董事等职务,北京东方旭润企划有限公司处于被吊销状态。

据媒体报道,2月4日早间,大润发母公司高鑫零售在港交所发布公告称,公司暂时与CEO李卫平无法取得联系。这也意味着这位刚刚入职仅两个月的上市公司CEO“失联”了。
天眼查任职信息显示,李卫平名下关联7家企业,其中6家处于存续或者仍注册状态,包括高鑫零售有限公司、康成投资(中国)有限公司、上海润盒网络科技有限公司等,李卫平在上述企业担任法定代表人、董事等职务,北京东方旭润企划有限公司处于被吊销状态。
