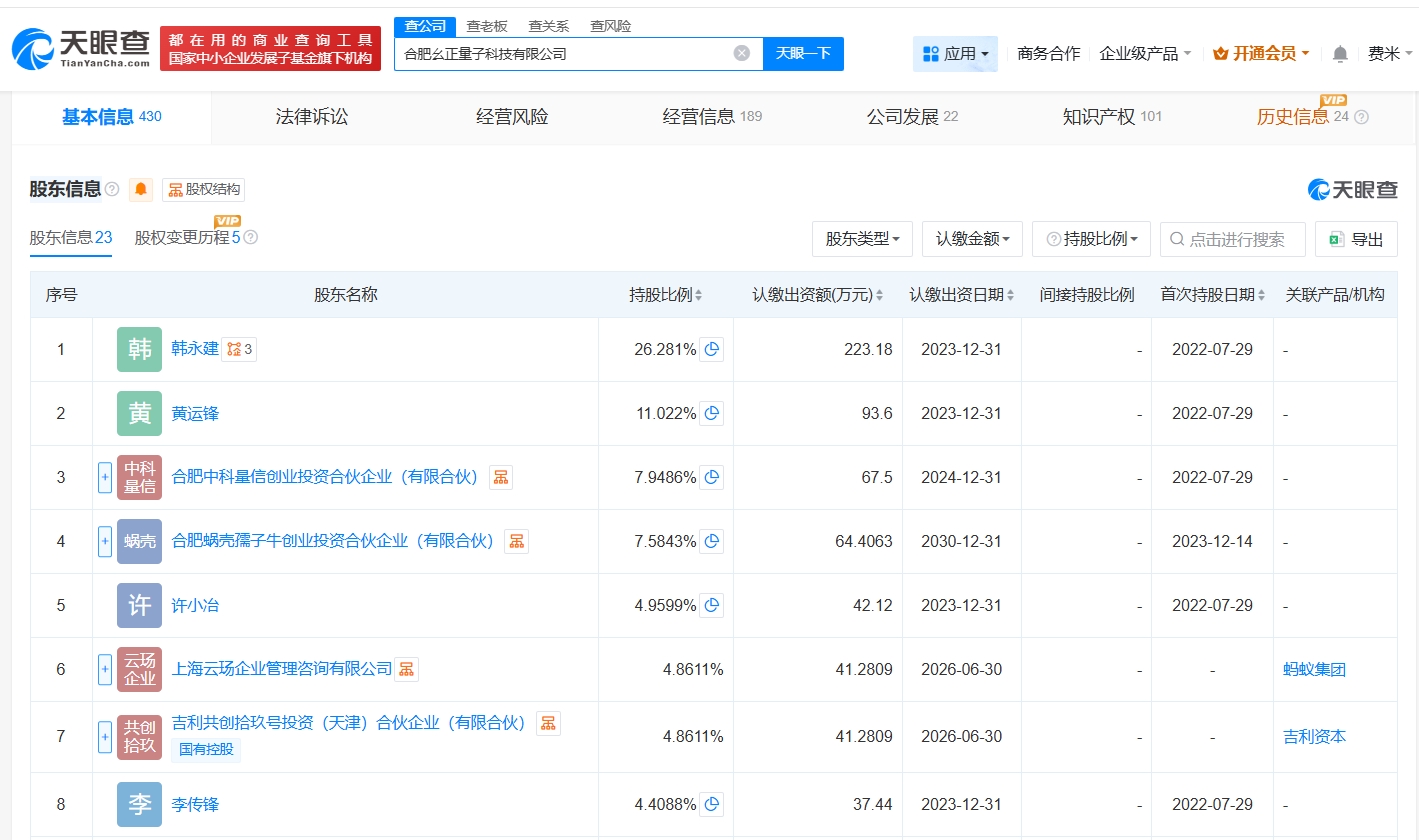
天眼查App显示,近日,合肥幺正量子科技有限公司发生工商变更,新增蚂蚁集团旗下上海云玚企业管理咨询有限公司、吉利共创拾玖号投资(天津)合伙企业(有限合伙)等为股东。
该公司成立于2022年7月,法定代表人为贺冉,经营范围含量子计算技术服务、软件开发、货物进出口等,现由韩永建、黄运锋及上述新增股东等共同持股。
公开信息显示,该公司是一家专注于离子阱量子计算机研发的科技公司,由中国科学技术大学、中科院量子信息重点实验室的多位教授和博士共同创办。




天眼查App显示,近日,合肥幺正量子科技有限公司发生工商变更,新增蚂蚁集团旗下上海云玚企业管理咨询有限公司、吉利共创拾玖号投资(天津)合伙企业(有限合伙)等为股东。
该公司成立于2022年7月,法定代表人为贺冉,经营范围含量子计算技术服务、软件开发、货物进出口等,现由韩永建、黄运锋及上述新增股东等共同持股。
公开信息显示,该公司是一家专注于离子阱量子计算机研发的科技公司,由中国科学技术大学、中科院量子信息重点实验室的多位教授和博士共同创办。



