据媒体报道,近日,金立创始人刘立荣消失8年后最新动向曝光,疑似在印尼卖家具,相关话题引发热议。
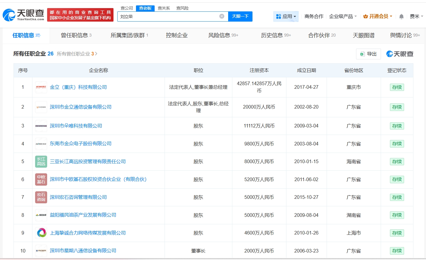
天眼查App显示,刘立荣名下关联20余家企业,其中10余家企业处于存续状态,包括金立(重庆)科技有限公司、深圳市金立通信设备有限公司、深圳市朵唯科技有限公司等,刘立荣在上述企业担任董事长、总经理等职务,其他企业已被吊销或注销。风险信息显示,刘丽荣现存多条股权冻结、失信被执行人(老赖)、限制消费令及终本案件信息。


据媒体报道,近日,金立创始人刘立荣消失8年后最新动向曝光,疑似在印尼卖家具,相关话题引发热议。
天眼查App显示,刘立荣名下关联20余家企业,其中10余家企业处于存续状态,包括金立(重庆)科技有限公司、深圳市金立通信设备有限公司、深圳市朵唯科技有限公司等,刘立荣在上述企业担任董事长、总经理等职务,其他企业已被吊销或注销。风险信息显示,刘丽荣现存多条股权冻结、失信被执行人(老赖)、限制消费令及终本案件信息。

