据媒体报道,近日,东方甄选短短两天时间,4名核心主播明明、天权、中灿、林林先后宣布离职,矛头指向东方甄选现任管理层管理风格的改变,此前,董宇辉、顿顿、孙东旭已从东方甄选离职。
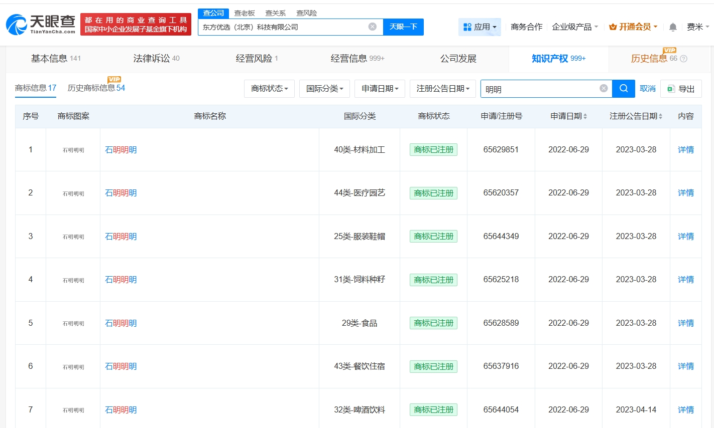
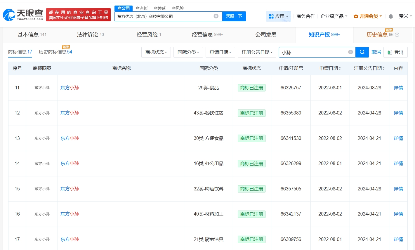
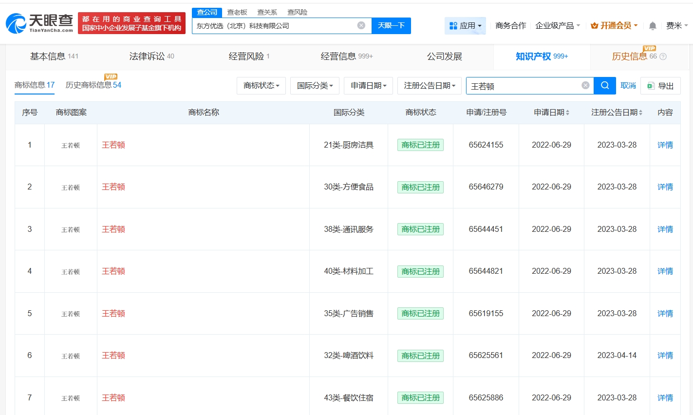
天眼查知识产权信息显示,东方甄选关联公司东方优选(北京)科技有限公司已注册“东方小孙”“王若顿”“石明明明”商标,国际分类包括材料加工、医疗园艺、服装鞋帽等。值得一提的是,此前,该公司还曾注册多枚“董宇辉”相关商标,目前已转让至董宇辉公司。




据媒体报道,近日,东方甄选短短两天时间,4名核心主播明明、天权、中灿、林林先后宣布离职,矛头指向东方甄选现任管理层管理风格的改变,此前,董宇辉、顿顿、孙东旭已从东方甄选离职。
天眼查知识产权信息显示,东方甄选关联公司东方优选(北京)科技有限公司已注册“东方小孙”“王若顿”“石明明明”商标,国际分类包括材料加工、医疗园艺、服装鞋帽等。值得一提的是,此前,该公司还曾注册多枚“董宇辉”相关商标,目前已转让至董宇辉公司。



