ITBear科技资讯
手机版
二维码
内容搜索
无障碍通道
语言:
中文
EN
ITBear旗下自媒体矩阵:
网站首页
业界动态
人工智能
手机快报
数码极客
数字家电
智能汽车
商业消费
信息流
企业天眼
热点资讯
小熊财经
滚动资讯
英特尔入局马斯克TeraFab项目 助力打造超高性能芯片超级工厂
04-08
“岚图老将”转战奕境:汪俊君与曾清林如何续写东风华为合作新篇?
04-08
日企“撤退”表象下:中日制造大洗牌,中国产业链升级正当时
04-08
一季度合资品牌回暖:是触底反弹还是短期回弹?未来路在何方?
04-08
宝马集团2026北京车展火力全开:16款新车亮相,旗舰与纯电齐发共启新境
04-08
专属“敦煌青”配色加持,全新坦克700 4月20日上市预售价43.8万元起
04-08
黄景瑜起诉多方侵权
蔚来资本等入股灵猴机器人
招商创科等入股浙江人形机器人创新中心 后者增资至6798万
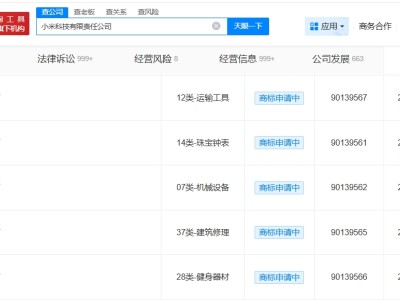
小米申请注册YU7 GT商标
银河航天在天津成立新科技公司 注册资本500万
侵权肖战方公开道歉
海河乳品曾申请注册抖包袱商标
华为申请注册华为智擎商标
亨通财务公司增资至15亿 增幅约7%
中粮集团2亿成立储备油和储备粮管理公司
当前位置:
首页
>
资讯
>
企业天眼
黄景瑜起诉多方侵权
蔚来资本等入股灵猴机器人
招商创科等入股浙江人形机器人创新中心 后者增资至6798万
小米申请注册YU7 GT商标
银河航天在天津成立新科技公司 注册资本500万
小英视频广告报价15到26万 小英商品橱窗已有超178万人跟买
2025-05-09
科大讯飞公布领域问答大模型训练专利 可节省人工成本
2025-05-09
深投控增资至335.86亿
2025-05-09
快递服务满意度稳步提升 我国现存快递物流相关企业超134.1万家
2025-05-09
纺织服装业促升级优供给 全国现存服装服务相关企业超122.6万家
2025-05-09
五一茶饮消费热场景创新旺 全国现存新茶饮相关企业超30.4万家
2025-05-09
吉利公布车辆紧急解锁引导专利 可在事故时避免延误救援时机
2025-05-09
华电在福建成立海水抽水蓄能公司 注册资本2亿
2025-05-09
张家界武陵源区全域旅游文化公司成立 注册资本5000万
2025-05-09
小英夫妇已无共同关联公司 小英老公近日退出二人关联公司
2025-05-09
手工耿名下公司减资至10万 手工耿在其公司由执行董事改任董事
2025-05-08
卤鹅哥申请个人品牌商标 卤鹅哥申请注册荣昌卤鹅哥商标
2025-05-08
苏州吴中成立人工智能及低空经济产业园运管公司 注册资本共2亿
2025-05-08
奔驰宝马合资公司在郑州成立新能源公司 注册资本500万
2025-05-08
哈啰出行在东莞成立网络科技公司 注册资本500万美元
2025-05-08
大众汽车变速器上海公司注销
2025-05-08
比亚迪增资至30.39亿
2025-05-08
北汽集团申请注册星帷智驾商标 北汽集团申请注册元境智瞳商标
2025-05-08
张纪中名下公司已成老赖 张纪中已被冻结600万股权
2025-05-08
理想汽车在南昌邢台两地成立销售服务公司
2025-05-08
中国宝武增资至528.97亿
2025-05-08
唯品会在珠海成立投资合伙企业 出资额10.1亿
2025-05-08
中汽研中国国新在深圳成立芯科技公司 注册资本8000万
2025-05-08
一季度软件业稳健增长 全国现存软件开发相关企业超220万家
2025-05-08
天眼新知 | 五一假期消费热力全开 新业态撬动假日经济新增长
2025-05-08
李斌卸任易车信息科技公司执行董事 李斌卸任易车信息科技公司职务
2025-05-08
侵权肖战黑粉被执行 肖战维权案件胜诉
2025-05-08
治沙异瞳少年22天涨粉超200万 治沙异瞳少年1个月内直播25场
2025-05-08
中国中煤在天津成立生态环境科技公司 注册资本2000万
2025-05-08
沈阳国资50亿成立吉驰汽车产业发展公司
2025-05-08
华为哈勃等入股千寻智能 后者为具身智能机器人研发商
2025-05-08
央行下调公积金贷款利率 国内现存房地产相关企业超382万家
2025-05-08
广交会多项指标创新高 广东外贸相关企业数量占全国总数近30%
2025-05-08
青岛啤酒成立生物科技公司 注册资本4.21亿
2025-05-08
胖东来成功注册于东来商标 胖东来成功注册东来哥商标
2025-05-08
赵丽颖维权索赔61万 赵丽颖维权案件6月开庭 赵丽颖维权案新进展
2025-05-08
奈雪的茶近期申请Naisnow奈雪商标 奈雪的茶近期为新logo申请商标
2025-05-08
小米旗下小米景明在南京成立新公司 含新能源汽车销售业务
2025-05-07
协鑫集团等被执行23.9亿
2025-05-07
南京市战新新能源创投合伙企业成立 出资额10亿
2025-05-07
成都通用航空公司登记成立 注册资本6000万
2025-05-07
阳光城集团等被执行30.37亿
2025-05-07
新石器无人车等在南通成立科技公司 含智能机器人研发业务
2025-05-07
揭秘叶波大润发超市 大润发曾申请叶波大润发商标无效
2025-05-07
史玉柱名下巨人投资被执行4.9亿 史玉柱名下巨人投资成被执行人
2025-05-07
胖南来胖西来胖北来商标遭抢注 多家新成立店铺叫胖东莱
2025-05-07
周杰伦维权案将于下周开庭 周杰伦起诉多方侵犯人格权
2025-05-07
杨幂要求黑粉公开道歉 杨幂黑粉未道歉被公告
2025-05-07
关晓彤维权索赔 关晓彤维权案件下月开庭
2025-05-07
华为已申请多个鸿蒙电脑相关商标 华为已为鸿蒙电脑申请商标
2025-05-07
第
141
页/共
165
页
首页
下一页
上一页
尾页
今日头条
蔚来ES9官图亮相!4月9日发布预售,技术堆料足续航达620km
国产汽车“芯”突破!DF30高性能车规级MCU芯片量产上车在即
新款萤火虫上市:动力升级价格亲民,换电体系成制胜关键
字节跳动持续加码北京地产:科研用地与医疗用地双布局拓展版图
优必选与本田贸易在人形机器人与无人车领域达成战略合作
长城汽车3月销量公布:整体增长态势良好,各品牌表现有喜有忧
热门内容
整改还是出清?追踪2025年315被曝光企业的最终命运
起底贴牌修正药业涉事公司
起底问题儿童药膏涉事工厂
晋江文学城涉多起名誉权纠纷
张雪峰公司已注册其女儿名字商标
腾讯商业版图盘点
张雪退出凯越机车同年参保人数骤降98%
汾酒曾因劳动合同纠纷被起诉
蒙牛友芝友乳业近期变更高管
于谦持股公司被执行1431万
百度旗下基金等入股日冕机器人
胖东来商业版图涉多个领域
姚振华及观致汽车等被执行5038万
光线传媒成立笑嘻兮创意科技公司
起底直播间涉黄牛奶关联公司
全站最新
“岚图老将”转战奕境:汪俊君与曾清林如何续写东风华为合作新篇?
一季度合资品牌回暖:是触底反弹还是短期回弹?未来路在何方?
宝马集团2026北京车展火力全开:16款新车亮相,旗舰与纯电齐发共启新境
专属“敦煌青”配色加持,全新坦克700 4月20日上市预售价43.8万元起
上海企业出海获客难题怎么破?AI全链路赋能服务商成破局关键
30天揽30亿融资,千寻智能凭啥成具身智能赛道“吸金王”?
网站首页
|
关于我们
|
联系方式
|
版权声明
|
争议稿件处理
|
English Version
本网站LOGO小熊标志受版权保护,版权登记号:鲁作登字-2015-F-025467,未经ITBEAR比尔科技官方许可,严禁使用。
声明:本网站是公益性科普网站,为网友提供科技类资讯内容,无障碍技术由太阳湾捐增,为阅读障碍用户提供内容听读服务。如本站内容侵犯了您的权利,请
通知我们
及时删除。
中国(山东)自由贸易试验区
鲁ICP备11015305号-1
联系入口
Copyright © 比尔科技 2007-2024 ITBEAR.COM.CN All rights reserved.