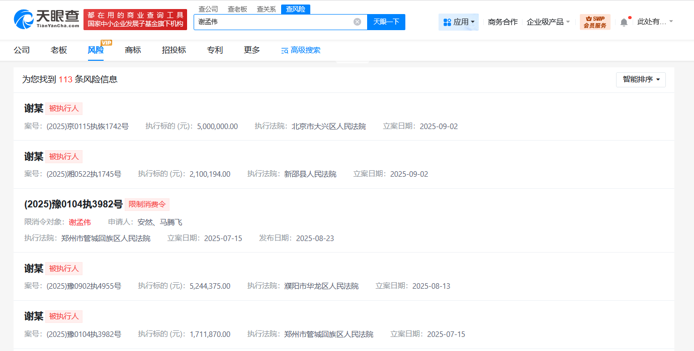
天眼查App显示,近期,谢孟伟(嘎子哥)新增2条被执行人信息,执行标的合计710万余元,被执行人还包括郭珊珊(谢孟伟妻子)等,执行法院为北京市大兴区人民法院、湖南省邵阳市新邵县人民法院。值得注意的是,今年8月,谢孟伟已被执行524万余元,此外,今年7月,谢孟伟曾因民间借贷纠纷案件被执行171万余元,并被限制高消费。
据媒体报道,此前因穿警服直播带货被行政拘留、账号遭封禁的“嘎子”谢孟伟,其抖音平台账号已可正常点关注,不过其快手账号仍处于封禁状态。



天眼查App显示,近期,谢孟伟(嘎子哥)新增2条被执行人信息,执行标的合计710万余元,被执行人还包括郭珊珊(谢孟伟妻子)等,执行法院为北京市大兴区人民法院、湖南省邵阳市新邵县人民法院。值得注意的是,今年8月,谢孟伟已被执行524万余元,此外,今年7月,谢孟伟曾因民间借贷纠纷案件被执行171万余元,并被限制高消费。
据媒体报道,此前因穿警服直播带货被行政拘留、账号遭封禁的“嘎子”谢孟伟,其抖音平台账号已可正常点关注,不过其快手账号仍处于封禁状态。


