据媒体报道,11月17日,阿里巴巴正式宣布“千问”项目,全力进军AI to C市场。金沙江朱啸虎点评“千问”,对此高度评价,称硬刚ChatGPT的国产AI出现了,“在硅谷屠榜的Qwen模型杀回国内”,直接拉高了千问App的起点,还称赞其思考逻辑清晰、专业能力扎实,是中国市场真正需要的AI产品。
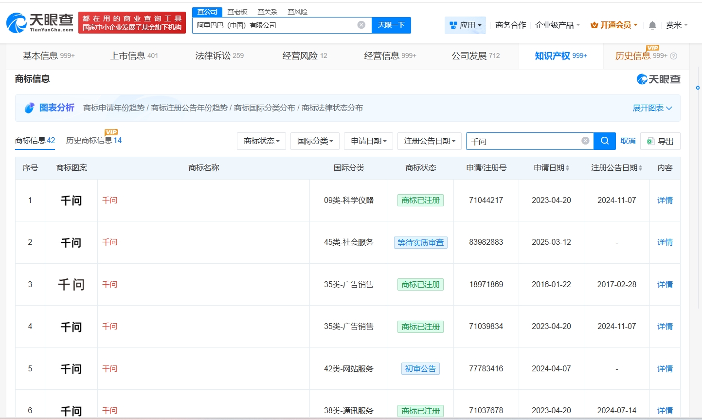
天眼查知识产权信息显示,阿里巴巴(中国)有限公司已成功注册多枚“千问”商标,国际分类包括科学仪器、广告销售、通讯服务等。此外,该公司已成功注册多枚“TONGYI QWEN”商标,国际分类包括广告销售、通讯服务、网站服务等。






















