天眼查工商信息显示,近日,白银有色(601212)发生工商变更,王普公卸任法定代表人、董事长,由王彬接任,同时,部分高管也发生变更。
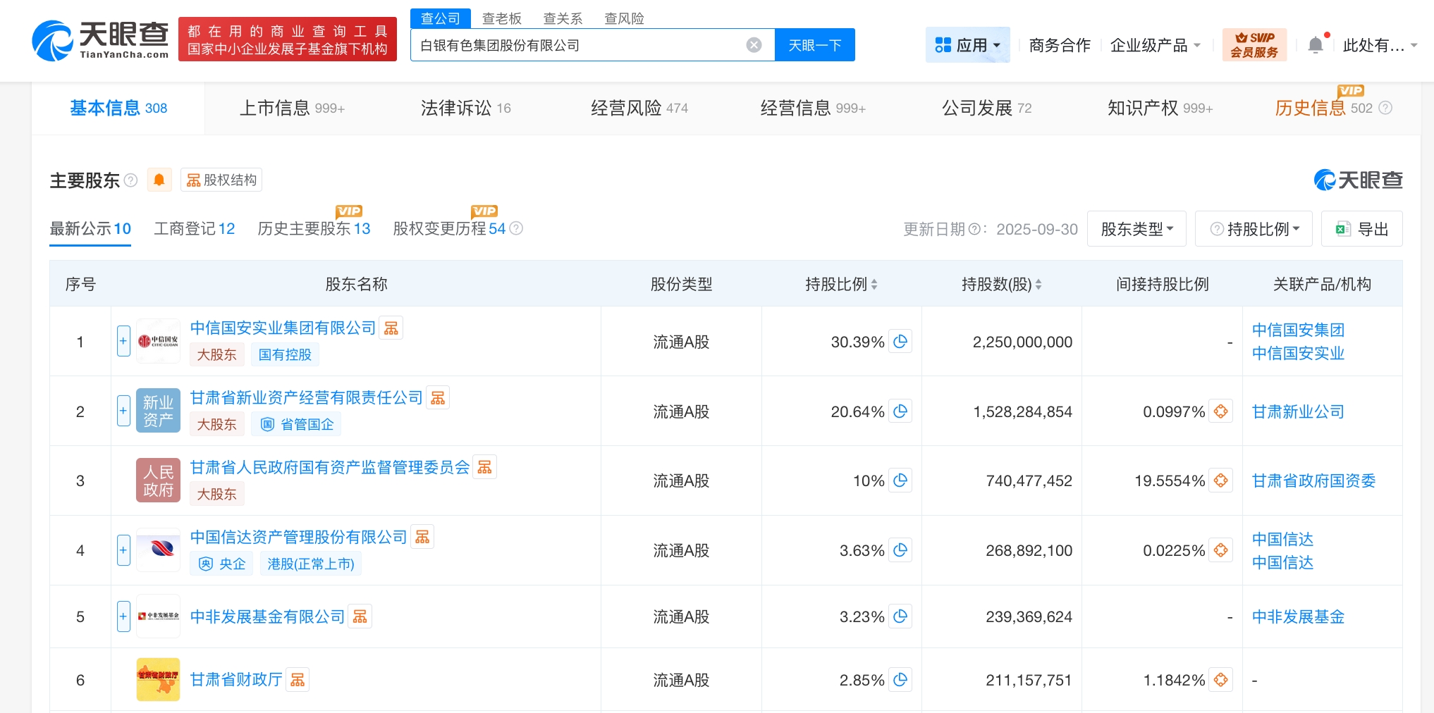
白银有色集团股份有限公司成立于2007年7月,注册资本约74亿人民币,经营范围含爆破作业、危险化学品经营、非煤矿山矿产资源开采、矿产资源勘查、金属与非金属矿产资源地质勘探等,由中信国安实业集团有限公司、甘肃省新业资产经营有限责任公司、中国信达(01359.HK)等共同持股。
据媒体报道,近日,白银有色公告,公司于3月16日召开第五届董事会第三十三次会议,选举公司董事王彬担任公司第五届董事会董事长。























