天眼查法律诉讼信息显示,近日,伯喜(北京)文化传媒有限公司及其法定代表人刘光耀新增一则消费令,涉及股东知情权纠纷案件,申请人为刘光耀前妻安吉,执行法院为北京市朝阳区人民法院。案件流程信息显示,此前,该公司已因此案被执行470元。
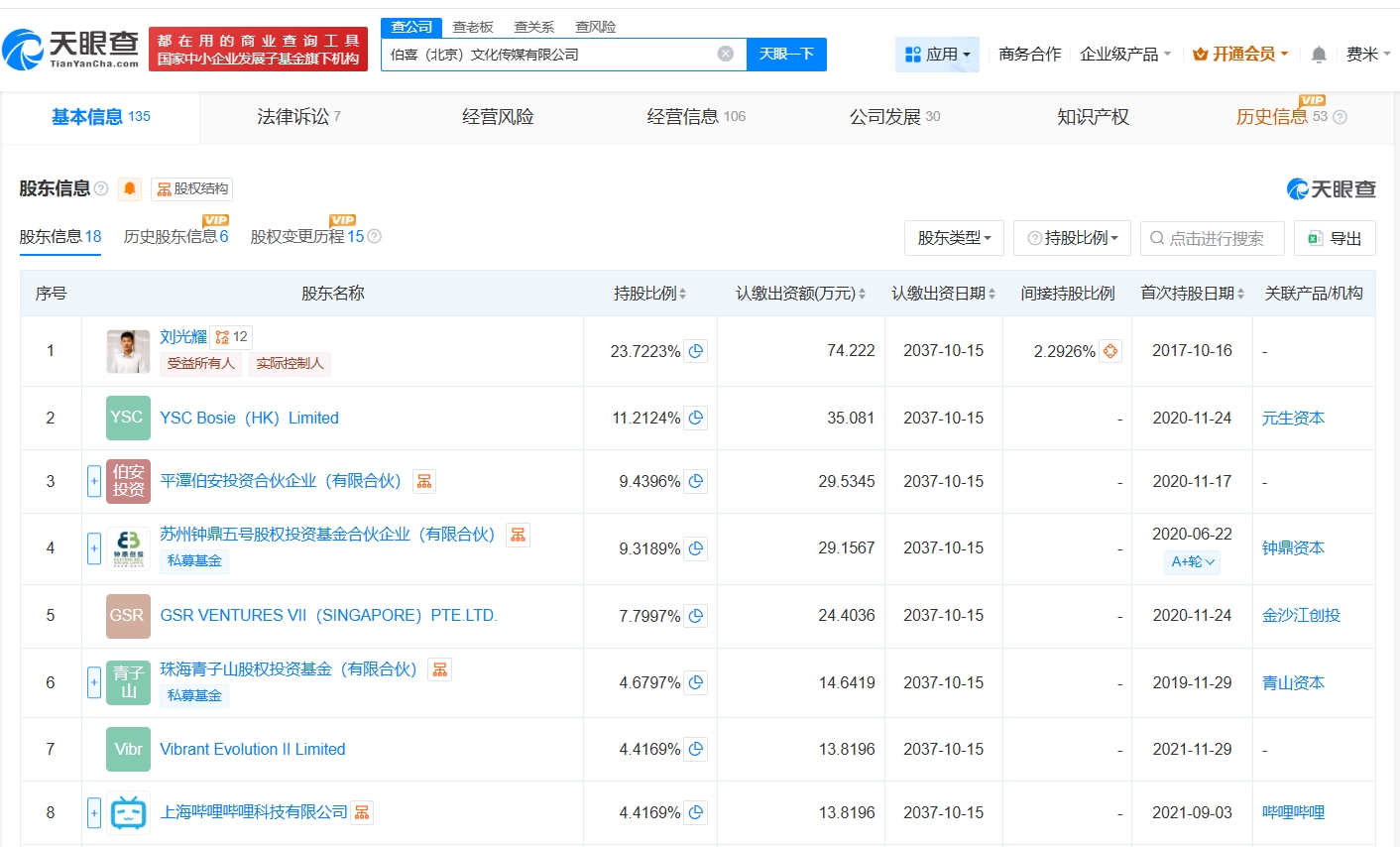
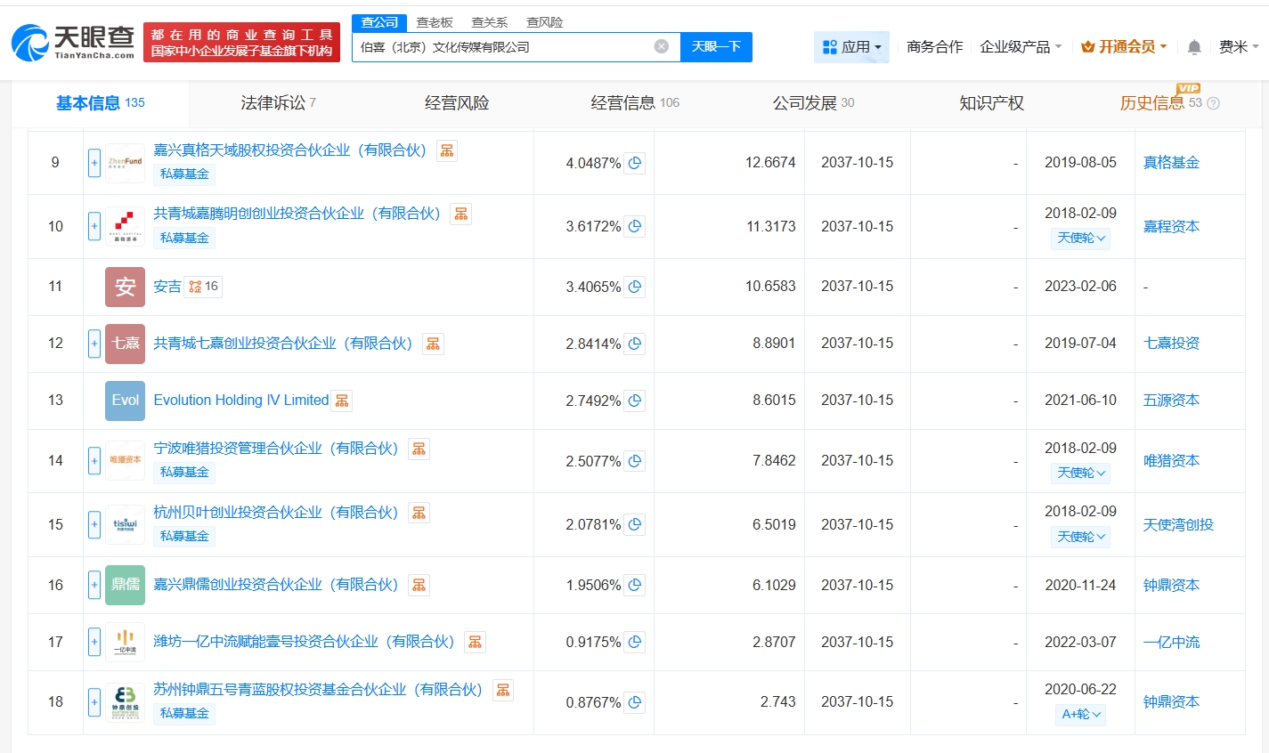
伯喜(北京)文化传媒有限公司成立于2017年10月,注册资本约313万人民币,经营范围包括组织文化艺术交流活动、文艺创作、企业策划等,由刘光耀、YSC Bosie(HK)Limited、安吉等共同持股,其中安吉持股比例约3.4%。
据媒体报道,去年8月,刘光耀发表长文回应与前妻结婚、离婚及关系崩裂的始末,并针对骗婚、债务等问题向前妻提出质疑,引起网友关注。
























