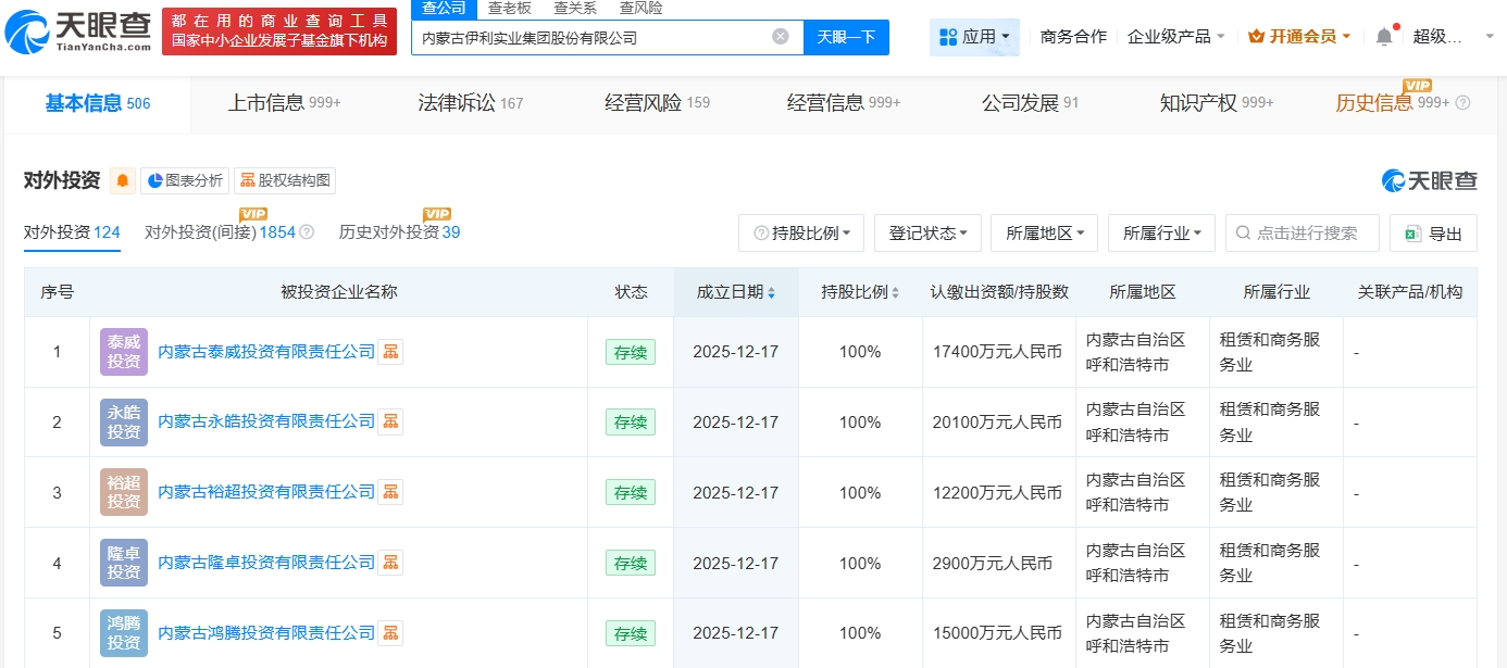
天眼查工商信息显示,近日,内蒙古永皓投资有限责任公司、内蒙古泰威投资有限责任公司、内蒙古鸿腾投资有限责任公司、内蒙古裕超投资有限责任公司、内蒙古隆卓投资有限责任公司成立,法定代表人均为乌云达来,注册资本分别为2.01亿人民币、1.74亿人民币、1.5亿人民币、1.22亿人民币、2900万人民币,经营范围为企业管理、企业管理咨询、以自有资金从事投资活动。股东信息显示,上述公司均由伊利股份(600887)全资持股。



天眼查工商信息显示,近日,内蒙古永皓投资有限责任公司、内蒙古泰威投资有限责任公司、内蒙古鸿腾投资有限责任公司、内蒙古裕超投资有限责任公司、内蒙古隆卓投资有限责任公司成立,法定代表人均为乌云达来,注册资本分别为2.01亿人民币、1.74亿人民币、1.5亿人民币、1.22亿人民币、2900万人民币,经营范围为企业管理、企业管理咨询、以自有资金从事投资活动。股东信息显示,上述公司均由伊利股份(600887)全资持股。


