天眼查工商信息显示,近日,湖北消费金融股份有限公司发生工商变更,注册资本由约13.6亿人民币增至约23.1亿人民币,增幅约70%,同时,部分主要人员发生变更。
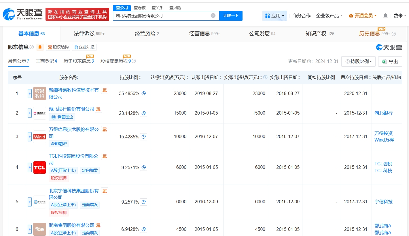
湖北消费金融股份有限公司成立于2015年4月,法定代表人为蔡碧,经营范围包括发放个人消费贷款、接受股东境内子公司及境内股东的存款、向境内金融机构借款等。股东信息显示,该公司由新疆特易数科信息技术有限公司、湖北银行股份有限公司、TCL科技集团股份有限公司等共同持股。



天眼查工商信息显示,近日,湖北消费金融股份有限公司发生工商变更,注册资本由约13.6亿人民币增至约23.1亿人民币,增幅约70%,同时,部分主要人员发生变更。
湖北消费金融股份有限公司成立于2015年4月,法定代表人为蔡碧,经营范围包括发放个人消费贷款、接受股东境内子公司及境内股东的存款、向境内金融机构借款等。股东信息显示,该公司由新疆特易数科信息技术有限公司、湖北银行股份有限公司、TCL科技集团股份有限公司等共同持股。


