天眼查法律诉讼信息显示,近日,中航证券有限公司新增一则股权冻结信息,被执行人为中航投资控股有限公司,冻结股权数额约16.1亿人民币,冻结期限为3年,执行法院为北京市第三中级人民法院。
该公司成立于2002年10月,法定代表人为戚侠,注册资本约73.3亿人民币,经营范围包括证券经纪、证券投资咨询、证券承销与保荐等,由中航投资控股有限公司、中航工业产融控股股份有限公司共同持股。



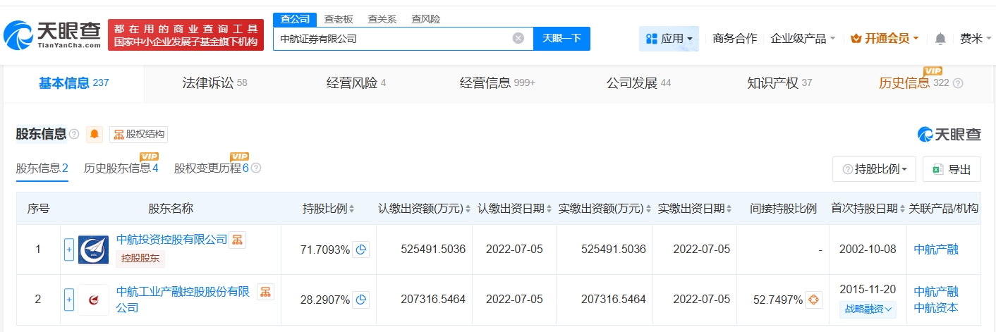
天眼查法律诉讼信息显示,近日,中航证券有限公司新增一则股权冻结信息,被执行人为中航投资控股有限公司,冻结股权数额约16.1亿人民币,冻结期限为3年,执行法院为北京市第三中级人民法院。
该公司成立于2002年10月,法定代表人为戚侠,注册资本约73.3亿人民币,经营范围包括证券经纪、证券投资咨询、证券承销与保荐等,由中航投资控股有限公司、中航工业产融控股股份有限公司共同持股。


