据报道,武汉欢之歌信息咨询有限公司与武汉瑞杰学尚教育咨询有限公司等公司以“文字编辑”为幌子招聘写手,员工通过AI工具拼凑网络文献,填充模板后简单润色,单日可量产30篇跨学科论文。
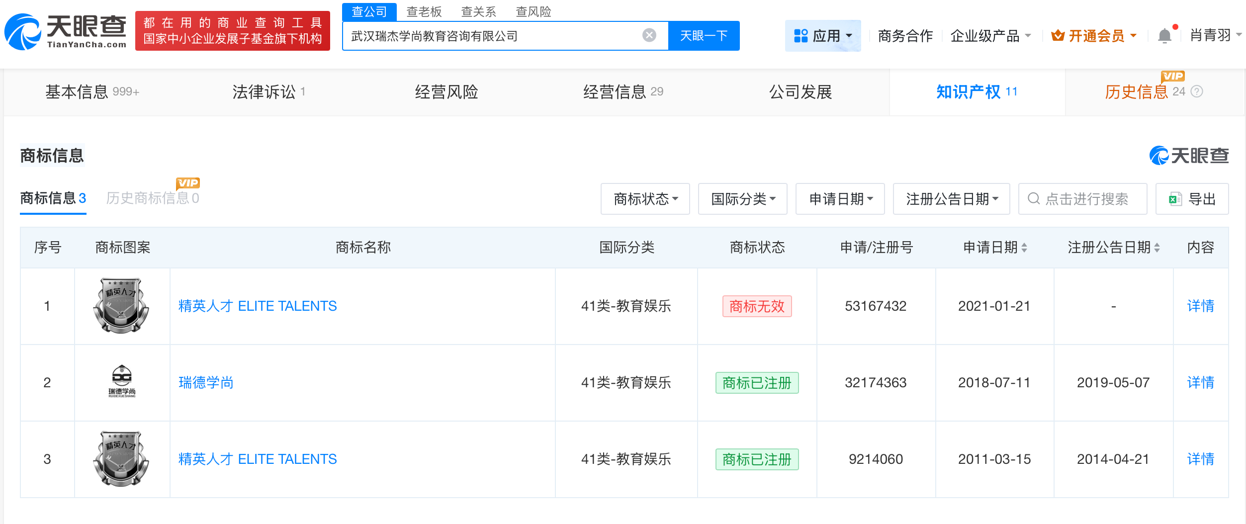
天眼查App显示,武汉瑞杰学尚教育咨询有限公司成立于2015年4月,法定代表人为胡志勇,注册资本300万人民币,经营范围包括教育咨询、教学软件开发等,由高小霞全资持股。天眼查知识产权信息显示,该公司已成功注册1枚“精英人才 ELITE TALENTS”商标。
此外,武汉欢之歌文化信息咨询有限公司成立于2021年3月,法定代表人为唐欢,注册资本20万人民币,经营范围包括文艺创作、教育咨询服务、咨询策划服务等,由唐欢全资持股。年报信息显示,该公司2021年至2024年参保人数均为0。
























