在智能座舱交互领域,宝马近日公布了一项颇具创新性的车载交互专利,这项技术有望为驾驶者解决行车过程中盲操作触摸屏易误触的难题,为行业带来新的交互解决方案。

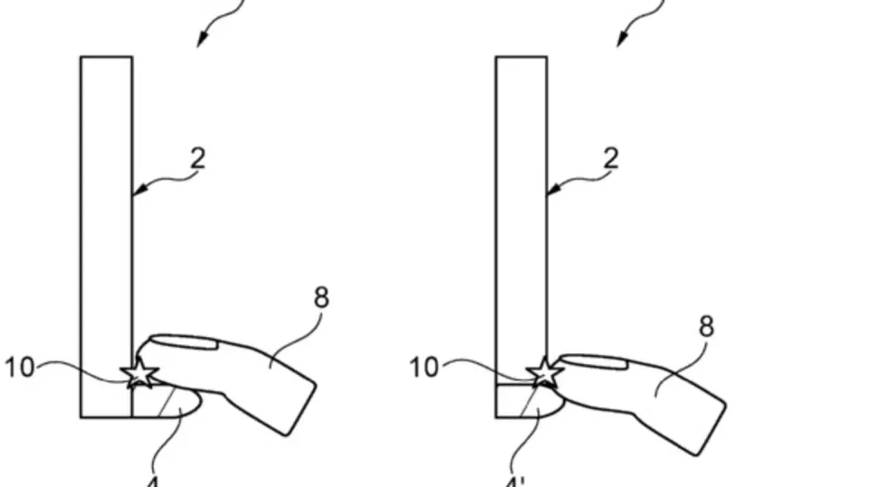
该专利的核心设计是在车载屏幕边缘添加一条仅几毫米高的触摸感应条。这一小巧的设计既不会对屏幕显示内容造成遮挡,也不会破坏座舱的整体美观。在行车过程中,车辆颠簸常常导致驾驶者手指悬空晃动,难以精准操作触摸屏,而这条感应条恰好能为手指提供物理支撑,有效解决这一问题。
为进一步提升操作精准度,感应条表面精心设计了与屏幕虚拟按键一一对应的凹槽。这种设计借鉴了传统机械按键的触觉反馈逻辑,驾驶者无需转移视线,仅通过指尖触感就能快速定位到所需的虚拟按键,实现精准盲操作,大大降低了误触的可能性。
除了物理结构的优化,该专利还引入了多模态反馈机制。当驾驶者手指触及感应条对应区域并完成操作指令时,系统会同时触发震动、声音和灯光反馈。这种三重反馈模式让驾驶者能够清晰感知操作已生效,无需反复查看屏幕确认,既提高了操作效率,又减少了因视线转移带来的行车安全隐患。
在材料选择上,感应条采用了压电陶瓷材料,这种材料在保证触摸灵敏度的同时,还具备出色的防水防尘性能,能够适应车载环境的复杂需求。其模块化设计使其可以与不同尺寸的车载曲面屏幕适配,未来有望广泛应用于宝马全系车型。
当前,车载信息娱乐系统普遍采用全触控设计,虽然提升了功能集成度,但也带来了盲操作困难、误触率偏高等问题,尤其在复杂路况下更为突出。宝马的这项新专利精准地针对这一痛点,通过简单实用的结构设计,兼顾了科技感与实用性,推动车载人机交互朝着更安全、更便捷的方向发展。目前,该专利尚未明确量产时间,但已为行业解决车载触控盲操作难题提供了全新思路。














