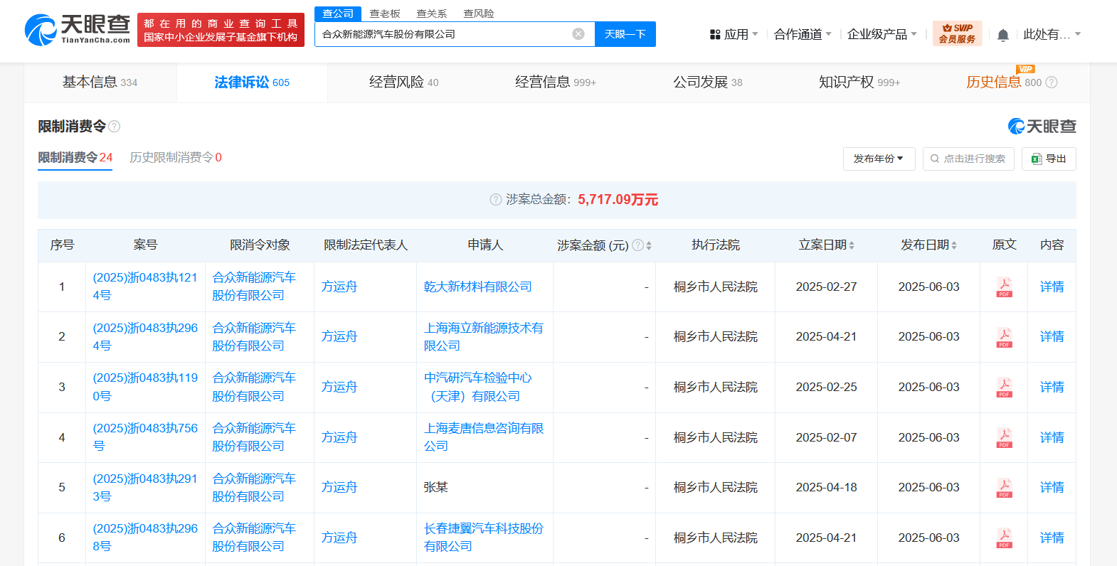
近日,合众新能源汽车股份有限公司及其法人代表方运舟遭遇了多重法律挑战,天眼查深度风险报告揭示了这一困境。该公司因涉及买卖合同、服务合同及劳动争议等多起纠纷,被桐乡市人民法院下达了16条限制消费令。
在这些纠纷中,合众新能源汽车股份有限公司的对手方包括中汽研汽车检验中心(天津)有限公司、北京中关村科金技术有限公司以及芜湖森思泰克智能科技有限公司等多家知名企业。这些案件的执行全部由桐乡市人民法院负责,显示出合众新能源汽车在运营过程中面临的不小压力。
作为一家成立于2014年10月的新能源汽车制造商,合众新能源汽车股份有限公司的注册资本高达约28.37亿人民币。其股权结构相对复杂,由南宁民生新能源产业投资合伙企业(有限合伙)、北京华鼎新动力股权投资基金(有限合伙)以及宜春市金合股权投资有限公司等多家企业和机构共同持有。

尽管合众新能源汽车在资本市场上拥有一定的实力,但此次的法律纠纷显然对其市场形象和业务运营产生了不利影响。限制消费令的发布,意味着公司在一段时间内将受到诸多消费行为的限制,这无疑会对其日常运营和市场拓展带来诸多障碍。
这些纠纷也暴露出合众新能源汽车在合同管理、员工关系处理以及供应商合作等方面可能存在的问题。如何妥善解决这些纠纷,恢复市场信心,将是合众新能源汽车未来亟需面对和解决的重要课题。

尽管面临诸多挑战,合众新能源汽车在新能源汽车领域的探索和创新并未停止。公司仍在不断推出新产品和技术,以期在竞争激烈的市场中占据一席之地。然而,如何在保证产品质量和技术创新的同时,有效管理法律风险,将是合众新能源汽车未来发展的关键。













