ITBear科技资讯
手机版
二维码
内容搜索
无障碍通道
语言:
中文
EN
ITBear旗下自媒体矩阵:
网站首页
业界动态
人工智能
手机快报
数码极客
数字家电
智能汽车
商业消费
信息流
企业天眼
热点资讯
小熊财经
滚动资讯
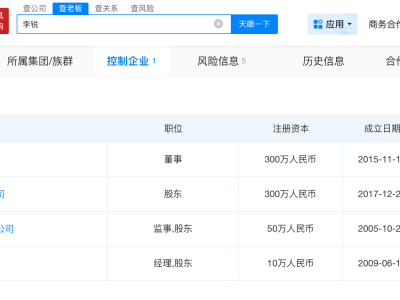
理想汽车关联公司工商变动:李想职位调整 注册资本大幅缩减近九成
12-16
北电数智“红湖·可信数据空间”:以标杆案例破局数据流通难题
12-16
春节前中端机市场将迎激烈竞争,大屏大电池等卖点成新机亮点
12-16
专为AI打造:粋(Sui)编程语言摒弃人类可读性,追求代码精准高效
12-16
2026载人航天任务标识征集进行时,这些关键元素助你设计出彩!
12-16
高校AI教育新图景:中美德三国路径探索与差异化发展剖析
12-16
TikTok矩阵运营破局指南:TK云大师3000家实战解锁高效增长密码
编程新手必看:前端、后端、数据科学三大领域入门全解析
比亚迪海洋四周年盛典官宣:海豹08与海狮08双旗舰明年一季度登场
美国蜜雪冰城上线外卖平台,超甜糖度选项亮相,预售套餐3.99美元引关注
特斯拉Model Y标准版续航超EPA预估,能效表现力压高阶版本
上海举办“科研赋能国潮”活动 共探国潮品牌发展及网络正能量传播路径
2025高级珠宝新赛道:LAC珠宝以数字化溯源解锁传承价值新密码
万店不是终点:挪瓦咖啡凭差异化模式,开启咖啡行业增长新征程
特斯拉Model Y标准版续航超EPA预估,能效还胜过高配版本!
20万出头入手宝马3系,颜值实力兼备,凯迪拉克CT5压力倍增?
当前位置:
首页
>
资讯
>
商业消费
上海举办“科研赋能国潮”活动 共探国潮品牌发展及网络正能量传播路径
2025高级珠宝新赛道:LAC珠宝以数字化溯源解锁传承价值新密码
特斯拉Model Y标准版续航超EPA预估,能效还胜过高配版本!
20万出头入手宝马3系,颜值实力兼备,凯迪拉克CT5压力倍增?
线控转向时代来临:安全保障与本土创新齐发力,上汽企业蓄势待发
《宝可梦传说Z-A》10月发售,预购及双版本详情大公开!
2025-05-29
MachineGames神秘项目取消,德军总部系列未来何在?
2025-05-29
黑爵AJ179 NL星闪版鼠标上市:三模轻量,专业玩家新选择!
2025-05-29
任天堂eShop撤下两款“海贼王”风游戏,为何突然下架引热议
2025-05-29
神谷英树欲接手《恐龙危机》?经典IP或将重启!
2025-05-29
Switch 2泄露风波起,任天堂前员工发声警告勿泄密
2025-05-29
Jez Corden预测6月Xbox发布会:新游戏亮相,多平台战略成果可期
2025-05-29
《荒野大镖客:救赎2》七周年,西部神作幕后艰辛与未来新动向
2025-05-29
《马里奥赛车:世界》容量缩水,Switch 2同步上市能否赢回玩家心?
2025-05-29
Windows 11开始菜单新变:React Native重构引发CPU占用争议
2025-05-29
漫威黑豹游戏梦碎!EA项目取消,曝光概念图让人惋惜不已
2025-05-29
ST联合跨界卖水求生,江西国资保壳能否力挽狂澜?
激进并购短期内的确给ST联合注入强劲增长动力,但在经历2021年营收狂飙57.76%至8.24亿元、创历史新高后,ST联合此后持续陷入负增长;而公司扣非净利润已连续亏损21年。 交易预案显示,ST联合拟通过…
2025-05-29
618电竞桌搭攻略:华硕X870系列主板,性能颜值兼备的装机首选!
2025-05-29
EA再掀裁员风暴,或关Codemasters并裁400人,《黑豹》游戏命运如何?
2025-05-29
《巫师3》销量破6000万,《巫师4》希里主角新三部曲蓄势待发
2025-05-29
金山软件一季度业绩不及预期,营收净利润环比双降,WPS转型面临挑战
而在办公软件业务外,游戏业务营收10.37亿元,同比增长14%,占到了总营收44%。这一增长主要受到二次元游戏《尘白禁区》及经典游戏《剑网3》的强劲表现所驱动,但由于《剑网3》在第一季度发布的商业化内容更新…
2025-05-29
雷鸟Air3s系列:全民AR眼镜新选择,画质音质双提升,仅需1274元起
2025-05-29
谷歌Play商店上新!Gemini AI助力解答应用疑问
2025-05-29
《全职高手》叶修28岁啦!全国粉丝联动庆生,IP热度再创新高
2025-05-29
iQOO 14系列曝光:两款新机均配三星OLED屏,性能再升级?
2025-05-29
真我Neo7 Turbo强势来袭:天玑9400e+7200mAh,游戏好机新选择!
2025-05-29
微软游戏小助手Copilot Beta版登陆Xbox移动APP
2025-05-29
雷鸟Air 3s Pro体验:便携“巨幕”带来沉浸式影音游戏享受
2025-05-29
EA痛失一员!Cliffhanger Games关闭,《黑豹》游戏项目遗憾夭折
2025-05-29
Win11 24H2五月更新上线:AI智能文本操作等新功能来袭
2025-05-29
EA宣布取消《黑豹》游戏开发,Cliffhanger Games工作室关闭
2025-05-29
短剧“10亿时代”来袭,谁是流量神话背后的推手?
“红果的10亿跟平台话题的10亿,从收益的角度来说是天差地别的一个关系”,一位同时涉猎付费和免费短剧的业内人士向新榜编辑部透露。 李峻丞则指出,于今无量能做出两部10亿播放量短剧,遵循的是同一个内容创作逻辑…
2025-05-29
机械革命星耀14亮相:超轻薄设计,正式进军高端轻薄本市场!
2025-05-29
OMEN暗影精灵11仅6000元出头,RTX5060+240Hz电竞屏性价比爆棚!
2025-05-29
Win11开始菜单成性能“杀手”?用户反馈CPU占用率飙升
2025-05-29
DeepSeek-R1新版实测:代码能力飙升,设计龙舟小游戏仅需2分钟!
2025-05-29
百日战纪获赞,小高和刚:虽不确定但值得一试,能否角逐年度最佳?
2025-05-29
高途青少年教育研究院揭牌,四大素质教育新品助力孩子全面发展
2025-05-29
任天堂Switch 2初开箱:仅深浅主题,未来或推付费自定义选项?
2025-05-29
英伟达财报亮点与挑战并存,宇宙第一股地位依旧稳固?
核心经营利润率回落至 49.1%,其中主要受 H20 存货减值相关费用的 45亿美元的影响。本季度增长主要来自于数据中心和游戏业务带动,其中游戏业务在 RTX50 系列产品带动下表现超预期,而云厂商更期待后…
2025-05-29
光荣特库摩掷1.73亿购横滨新楼,力推3A游戏开发大计
2025-05-29
三星PRO Plus microSD索尼克联名卡,掌机玩家的游戏加速神器!
2025-05-29
教团1886团队重生!Atlantis Studio携新愿景启航
2025-05-29
酒店会员生态“联姻”频,下一个高频场景入口在哪?
希尔顿与滴滴的此次合作,推出的“住行一体”会员权益体系,以及此前支付宝同诸多酒店集团的会员互通,本质上是一场用户忠诚度争夺战的升级,其意义不仅在于实现跨行业会员权益的互通,更映射出酒店行业正在经历的一场深刻…
2025-05-29
迪士尼加持,纸牌接龙新王诞生,细分品类迎变革?
近期,海外沉寂已久的纸牌接龙品类连续有「大玩家」入局,先是King推出新作《Candy Crush Solitaire》,之后是SuperPlay带来迪士尼大IP加持的《Disney Solitaire》…
2025-05-29
Deepseek R1-0528模型评测:编程与前端生成能力显著提升
2025-05-29
撼讯RX 9070 XT红魔显卡升级!特别版附带Onyx磁吸背板亮相
2025-05-29
《艾尔登法环:黑夜君临》全球发售时间揭晓,你准备好了吗?
2025-05-29
沈阳万兆光网新突破:月星环球港一期实测下载速率近万兆
2025-05-29
DeepSeek R1小版本升级,网友实测:性能直逼OpenAI o3模型?
2025-05-29
DeepSeek R1小版升级实测:编程能力飙升,能否挑战国际顶尖水平?
2025-05-29
《赛博朋克2077》续作来袭,新城市“失控芝加哥”等你探索!
2025-05-29
DeepSeek R1小版升级实测:编程实力跃升,部分表现超Claude 4!
2025-05-29
沈阳万兆小区实测下载破9000Mbps,成功入围工信部试点名单!
2025-05-29
《宝可梦传说Z-A》10月16日登陆Switch,Switch2版同步上线!
2025-05-28
«上一页
1
2
…
56
57
58
59
60
…
61
62
下一页»
共3069条/62页
今日头条
雷军回应“准新车”引争议,运损车贴新标,消费者质疑诚意与责任
乘联会数据揭秘:11月新能源车出口激增,比亚迪成海外“领跑者”
特斯拉奥斯汀开启Robotaxi真无人测试 完全自动驾驶目标近在咫尺
法拉利849 Testarossa中国首秀登场 售价516.8万起 性能配置亮点多
支付宝“碰一下”赋能多乐囤:4个月吸纳15万新会员 营业额客流量双提升
保时捷2026年纯电Macan与卡宴将适配苹果数字车钥匙 开启无感用车新体验
热门内容
英伟达发布581.94驱动,为Win11游戏性能下降问题“打补丁”
华为畅享70X尊享版登场:性能屏幕等升级,1899元起售11月27日开售
《暗黑破坏神4》国服12月12日上线 定价128元全球最低引玩家期待
一加Ace 6T满级防尘防水加持 3D超声波指纹 性能续航游戏体验全升级
比亚迪胜诉“王悟空说车”案:法治护航 净化新能源舆论场
净利润同比大涨233%,B站盈利新周期靠啥“破局”与“深耕”?
胖东来“小方糖戒指”受追捧 1克拉百元起售 材质为莫桑石有代购加价转售
《永恒之塔2》硬件网络全攻略:解锁虚幻5引擎极致体验的必备配置
华为畅享70X尊享版来袭!1899元起售,6100mAh大电池+麒麟芯亮点足
一加Ace6T官宣来袭!真机照亮相,三配色预约开启,性能续航亮点多
《Varsapura》首曝实机:蔡浩宇领衔,叙事玩法融合AI打造沉浸都市体验
问界M6谍照曝光!定位介于M5与M7间,或2026年发布引期待
Purple登入报错别发愁!深度剖析原因,提供实用解决妙招
英特尔2026 CES将首发酷睿Ultra第3代 18A制程AI算力达180 TOPS
《永恒之塔2》硬件网络全攻略:解锁虚幻5引擎的极致游戏体验
全站最新
上海举办“科研赋能国潮”活动 共探国潮品牌发展及网络正能量传播路径
2025高级珠宝新赛道:LAC珠宝以数字化溯源解锁传承价值新密码
QuestMobile2025新媒体生态洞察:用户增长、内容升级与商业化新趋势
AI赋能材料研发:从漫长试错到高效创制,开启科学新篇章
温峥嵘已签约MCN
贵州农商行组建完成工商变更
网站首页
|
关于我们
|
联系方式
|
版权声明
|
争议稿件处理
|
English Version
本网站LOGO小熊标志受版权保护,版权登记号:鲁作登字-2015-F-025467,未经ITBEAR官方许可,严禁使用。
声明:本网站是公益性科普网站,为网友提供科技类资讯内容,无障碍技术由太阳湾捐增,为阅读障碍用户提供内容听读服务。如本站内容侵犯了您的权利,请
通知我们
及时删除。
中国(山东)自由贸易试验区
鲁ICP备11015305号-1
联系入口
Copyright © 小熊科技资讯 2007-2024 ITBEAR.COM.CN All rights reserved.